Запчасти John Deere 10 224 - General Purpose Bucket Assembly 3302 Bucket With Teeth

Схема запчастей John Deere 10 - 224 - General Purpose Bucket Assembly 3302 Bucket With Teeth
FIT
1:1
100%

Артикул

Название

Примечание

Количество

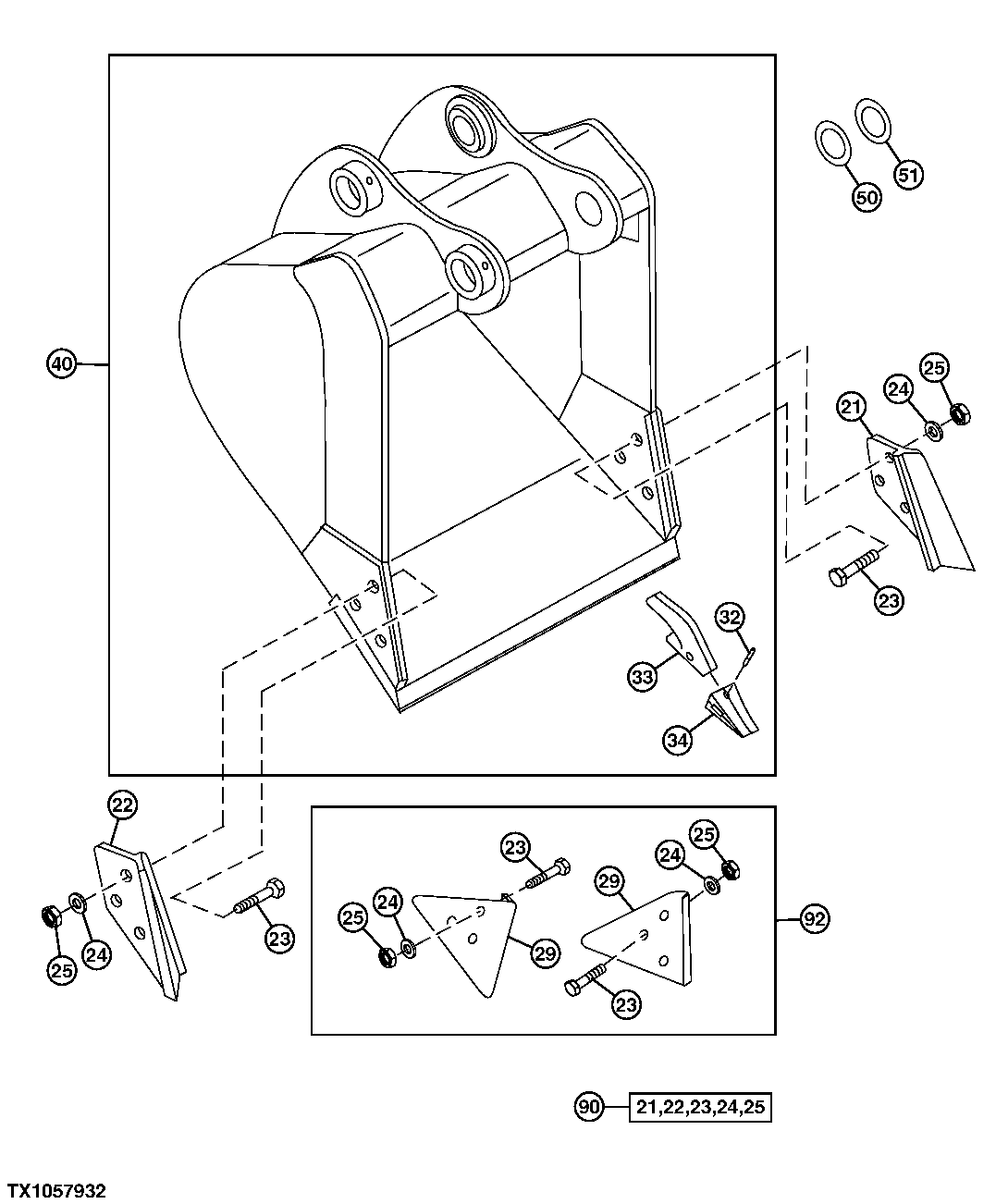
21

CE17748L3

End Bit

1шт.

22

CE17748R3

End Bit

1шт.

23

09H1772

Bolt

7/8" X 3-1/2"

12шт.

24

12H245

Lock Washer

7/8"

12шт.

25

14H1077

Nut

7/8"

12шт.

29

TPDE31329

Shroud

Wear

2шт.

32

TP160

Pin

ARшт.

33

T109X220

Bucket Tooth Adapter

ARшт.

34

TF220

Tooth

ARшт.

40

AT339023

Excavator Bucket

(24in. - .50 CUBIC YARD), (SUB FOR (1) AT332657)(WHOLEGOODS) (4 TEETH)

1шт.

AT339025

Excavator Bucket

(30in. - .66 CUBIC YARD), (SUB FOR (1) AT332658)(WHOLEGOODS) (4 TEETH)

1шт.

AT339027

Excavator Bucket

(36in. - .83 CUBIC YARD), (SUB FOR (1) AT332659)(WHOLEGOODS) (5 TEETH)

1шт.

AT339029

Excavator Bucket

(42in. - 1.01 CUBIC YARD), (SUB FOR (1) AT332660)(WHOLEGOODS) (5 TEETH)

1шт.

50

T241931

Washer

70 X 110 X 1 mm (2.756" X 4.331" X 0.039")

ARшт.

51

T241938

Shim

(.5mm)

ARшт.

90

AT342512

Kit

1шт.

92

AT342511

Kit

Edge Protector Kit

1шт.

Выбрано товаров: 17