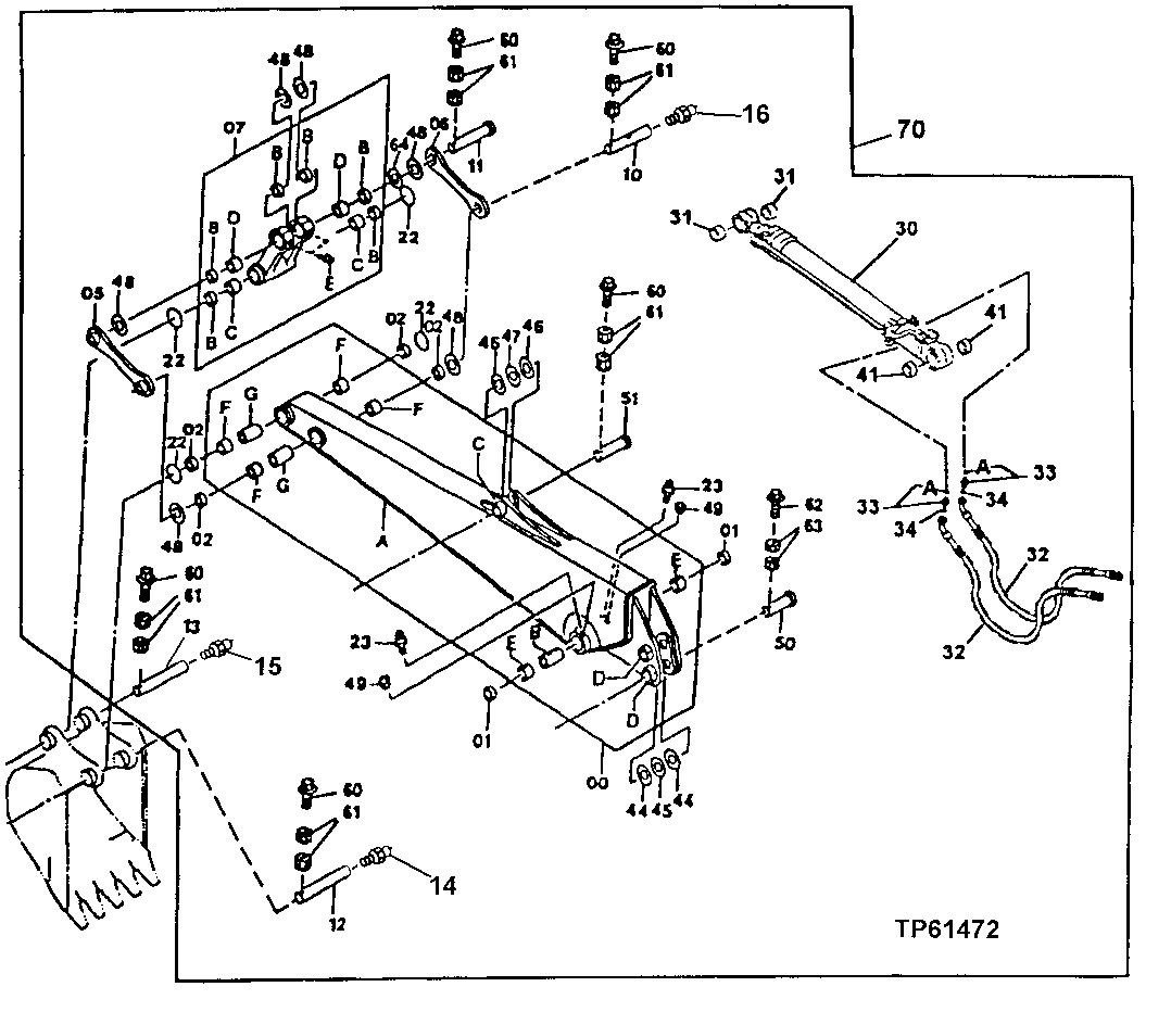
Запчасти John Deere 10 248 - LONG ARM 2.81 M (9 FT 3 IN) 3340 Backhoe & Excavator Frames

Схема запчастей John Deere 10 - 248 - LONG ARM 2.81 M (9 FT 3 IN) 3340 Backhoe & Excavator Frames
FIT
1:1
100%

Артикул

Название

Примечание

Количество

0

AP34389

Arm

Convenience Assembly

1шт.

0A

Arm

1шт.

0B

P63530

Bushing

1шт.

0C

P60783

Bushing

1шт.

0D

P60783

Bushing

2шт.

0E

4188796

Bushing

(SUB FOR TH108930)

2шт.

0F

AT122209

Bushing

65 X 80 X 50 mm (2.559 " X 3.150" X 1-31/32")

4шт.

0G

4124575

Spacer

(SUB FOR TH100369)

2шт.

1

TH100374

Seal

2шт.

2

TH100374

Seal

4шт.

5

9735190

Link

(SUB FOR AT154243)

1шт.

6

4257933

Link

(SUB FOR AT154248)

1шт.

7

AP33539

Link

1шт.

7B

TH100374

Seal

6шт.

7C

AT122209

Bushing

65 X 80 X 50 mm (2.559 " X 3.150" X 1-31/32")

2шт.

7D

4188796

Bushing

(SUB FOR TH108930)

2шт.

7E

TH100074

Lubrication Fitting

2шт.

10

TH108940

Pin

(SUB FOR AP33639 ) (ALSO ORDER TH100074)

1шт.

11

P66990

Shear Pin

(SUB FOR TH108943)

1шт.

12

AT318059

Pin Fastener

(SUB FOR 3084540 ) (ALSO ORDER TH100074 ) (SUB FOR TH108941)

1шт.

13

P68886

Pin

(NLA) (SUB FOR TH108942) (ORDER 3089242)

1шт.

3089242

Pin Fastener

Not Illustrated Pin Not Drilled For G rease Fitting See DTAC Solution 90615

1шт.

14

TH100074

Lubrication Fitting

1шт.

15

TH100074

Lubrication Fitting

(USE WITH P68886)

1шт.

16

TH100074

Lubrication Fitting

1шт.

22

4276696

O-Ring

Standard O-Ring

4шт.

AT349465

Seal

Split O-Ring

4шт.

23

TH100074

Lubrication Fitting

2шт.

30

Cylinder

Bucket Cylinder See Se parate Page For Detail

1шт.

31

TH100374

Seal

2шт.

32

P63676

Hydraulic Hose

2шт.

33

4189602

Fitting

(SUB FOR TH108350)

2шт.

33A

4506418

O-Ring

17.800 X 2.400 mm (0.701" X 3/32") (SUB FOR U46489)

1шт.

34

T77857

O-Ring

2шт.

41

TH100374

Seal

2шт.

44

4075358

Washer

66 X 120 X 2 mm (2.598" X 4.72 4" X 0.079") (SUB FOR TH108955)

2шт.

45

4284139

Washer

61 X 120 X 2 mm (2.402" X 4.72 4" X 0.079") (SUB FOR AT154378)

1шт.

46

4284139

Washer

61 X 120 X 2 mm (2.402" X 4.72 4" X 0.079") (SUB FOR AT154378)

2шт.

47

4179807

Washer

61 X 120 X 1 mm (2.402" X 4.72 4" X 0.039") (SUB FOR TH108045)

1шт.

48

4075358

Washer

66 X 120 X 2 mm (2.598" X 4.72 4" X 0.079") (SUB FOR TH108955)

6шт.

49

94-2010

Fitting Plug

(SUB FOR TH100689)

2шт.

50

P60861

Pin

1шт.

51

P60925

Pin Fastener

1шт.

60

19M8351

Cap Screw

M16 X 125 (SUB FOR 19M7941)

5шт.

61

14M7276

Nut

M16

10шт.

62

19M8351

Cap Screw

M16 X 125 (SUB FOR 19M790 7, APPL) (SUB FOR 19M7941)

1шт.

63

14M7276

Nut

M16 (SUB FOR 14M7277, APPL)

2шт.

64

4075357

Washer

66 X 120 X 1 mm (2.598" X 4.72 4" X 0.039") (SUB FOR TH108944)

1шт.

70

AP35213

Arm

(WHOLE GOODS) Includes Long Arm, Bucket Cylinder, Hoses and Linkage

1шт.

Выбрано товаров: 49