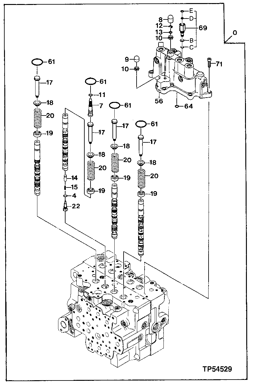
Запчасти John Deere 10 266 - Control Valve 3360 Hydraulic System

Схема запчастей John Deere 10 - 266 - Control Valve 3360 Hydraulic System
FIT
1:1
100%

Артикул

Название

Примечание

Количество

0

4383784

Hyd Actuated Control Valve

Additional Components Listed On Prev ious and Following Pages (SUB FOR AT1 83674 ) (SUB FOR AP34395 OR AP35555)

1шт.

4

CH17167

O-Ring

9.800 X 1.900 mm (0.386" X 0.075")

1шт.

7

0670206

Screw

(SUB FOR AT215809)

1шт.

8

0670207

Cap

(SUB FOR AT215810)

1шт.

9

0412204

Cap

(SUB FOR AT154019)

1шт.

10

0412202

Nut

(SUB FOR AT154017)

2шт.

11

CH11569

Packing

1шт.

12

CH11490

Ring

1шт.

13

0670208

Washer

(SUB FOR AT215811)

1шт.

14

0412015

Valve

(SUB FOR AT154006)

1шт.

15

0412016

Spring

(SUB FOR AT154007)

1шт.

17

0670002

Screw

(SUB FOR AT215788)

4шт.

18

0670003

Valve Seat

(SUB FOR AT215789)

4шт.

19

0670004

Valve Seat

(SUB FOR AT215790)

4шт.

20

0670005

Spring

(SUB FOR AT215791)

4шт.

22

0670201

Fitting Plug

(SUB FOR AT215804)

1шт.

56

0670202

Housing

(SUB FOR AT215805)

1шт.

61

0411803

O-Ring

35.200 X 2.400 mm (1.386" X 3/32") (SUB FOR AT153963)

4шт.

64

CH11568

Packing

1шт.

69

0670203

Adapter Fitting

(SUB FOR AT215806)

1шт.

69B

M800650

Packing

1шт.

69C

CH11568

Packing

1шт.

69D

0670205

Filter

(SUB FOR AT215808)

1шт.

69E

0214223

Snap Ring

(SUB FOR TH100791)

1шт.

71

19M8735

Screw

M8 X 30

10шт.

Выбрано товаров: 25