Запчасти John Deere 10 272 - SHOCKLESS VALVE 3360 Hydraulic System

Схема запчастей John Deere 10 - 272 - SHOCKLESS VALVE 3360 Hydraulic System
FIT
1:1
100%

Артикул

Название

Примечание

Количество

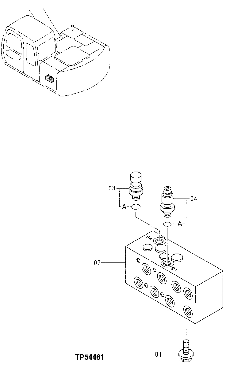
1

19M7402

Cap Screw

M10 X 25

2шт.

12M7066

Lock Washer

10 mm

2шт.

24M7028

Washer

10.500 X 20 X 2 mm

2шт.

3

4332040

Sensor

(SUB FOR (1) AT213840) Arm In Pressure

1шт.

3A

M800650

Packing

1шт.

4

4333040

Switch

(SUB FOR (1) AP33668 ) (SUB FOR (1) AT213846) Boom Up Pressure

1шт.

4A

M800650

Packing

1шт.

7

4367131

Hyd Actuated Control Valve

(SUB FOR (1) AP34033) Flow Contro l (SUB FOR AP34033)(FLOW CONTROL)

1шт.

4371949

Hyd Actuated Control Valve

(SUB FOR (1) AP34033, APPL) ( SUB FOR (1) AP35561) (WITH ANT I-RUST PROTECTION) Flow Contro l

1шт.

Выбрано товаров: 9