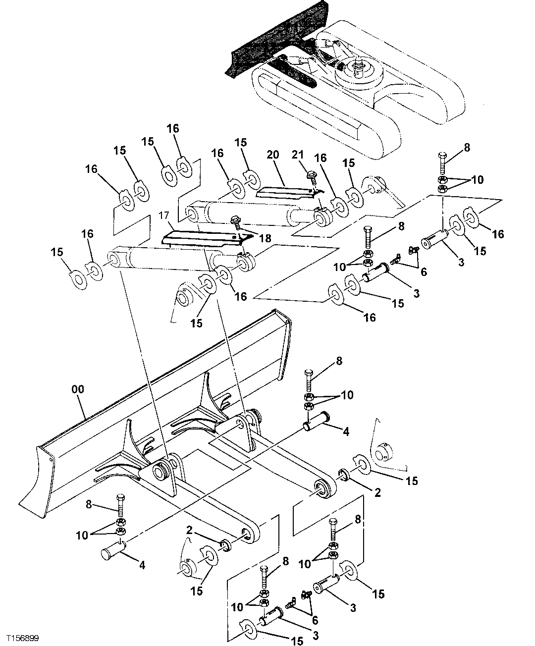
Запчасти John Deere 10 312 - Blade 3401 Blade

Схема запчастей John Deere 10 - 312 - Blade 3401 Blade
FIT
1:1
100%

Артикул

Название

Примечание

Количество

0

AP38576

Blade

(WITH 600MM SHOES, 2590MM WIDE) (SUB FOR DH700120)

1шт.

AP39225

Blade

(WITH 700MM SHOES, 2690MM WIDE) (SUB FOR DH700119)

1шт.

T211450

Cutting Edge

Blade (CUT TO LENGTH)

1шт.

2

4376210

Bushing

(SUB FOR P64892)

2шт.

3

4348569

Pin Fastener

(SUB FOR P64898)

4шт.

4

4348569

Pin Fastener

(SUB FOR P64897 ) (SUB FOR P64898)

2шт.

6

T116334

Lubrication Fitting

4шт.

8

19M8503

Cap Screw

M20 X 160 (SUB FOR P61796)

6шт.

10

14M7277

Nut

M20 (SUB FOR 14M7144)

12шт.

15

P61821

Plate

12шт.

16

P61822

Plate

8шт.

17

4361519

Cover

(SUB FOR P64911)(USE IF AVAILABLE) (IF P64911 NOT AVAILABLE, SUB 3091704 (2) 19M8011, (2) 12M7067, AND (2) 24M7047)

1шт.

3091704

Cover

1шт.

18

19M7938

Cap Screw

M10 X 20

2шт.

12M7066

Lock Washer

10 mm

2шт.

19M8011

Cap Screw

M12 X 30

2шт.

12M7058

Lock Washer

12 mm (SUB FOR 12M7067)

2шт.

24M7047

Washer

13 X 24 X 2.500 mm

2шт.

20

4361519

Cover

(SUB FOR P64911)(USE IF AVAILABLE) ( IF P64911 NOT AVAILABLE, SUB 3091704 (2) 19M8011, (2) 12M7067, (2) 24M7047 )

1шт.

3091704

Cover

1шт.

21

19M7938

Cap Screw

M10 X 20

2шт.

12M7066

Lock Washer

10 mm

2шт.

19M8011

Cap Screw

M12 X 30

2шт.

12M7058

Lock Washer

12 mm (SUB FOR 12M7067)

2шт.

24M7047

Washer

13 X 24 X 2.500 mm

2шт.

Выбрано товаров: 25