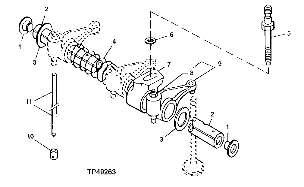
Запчасти John Deere 10 27 - Rocker Arm Shaft, Push Rods and Rocker Arms (026650 - ) 0402A Camshaft And Valve Actuating Means 4045TP052 4045TP052

Схема запчастей John Deere 10 - 27 - Rocker Arm Shaft, Push Rods and Rocker Arms (026650 - ) 0402A Camshaft And Valve Actuating Means 4045TP052 4045TP052
FIT
1:1
100%

Артикул

Название

Примечание

Количество

1

R54565

Plug

2шт.

2

R123513

Rocker Arm Shaft

1шт.

3

T20316

Washer

2шт.

4

T20314

Spring

3шт.

5

R123271

Stud

4шт.

6

R42729

Washer

4шт.

7

R123161

Support

4шт.

8

14M7148

Nut

M10

1шт.

9

RE68695

Rocker Arm

8шт.

10

R123565

Cam Follower

8шт.

11

R107731

Push Rod

8шт.

Выбрано товаров: 11