Запчасти John Deere 20 117 - FAN DRIVE SUPPORTS, BELT TENSIONER, PULLEY (ESN -804732) ( - 804732) 0400B Engine T04045TT052 ( - 804732) T04045TT052

Схема запчастей John Deere 20 - 117 - FAN DRIVE SUPPORTS, BELT TENSIONER, PULLEY (ESN -804732) ( - 804732) 0400B Engine T04045TT052 ( - 804732) T04045TT052
FIT
1:1
100%

Артикул

Название

Примечание

Количество

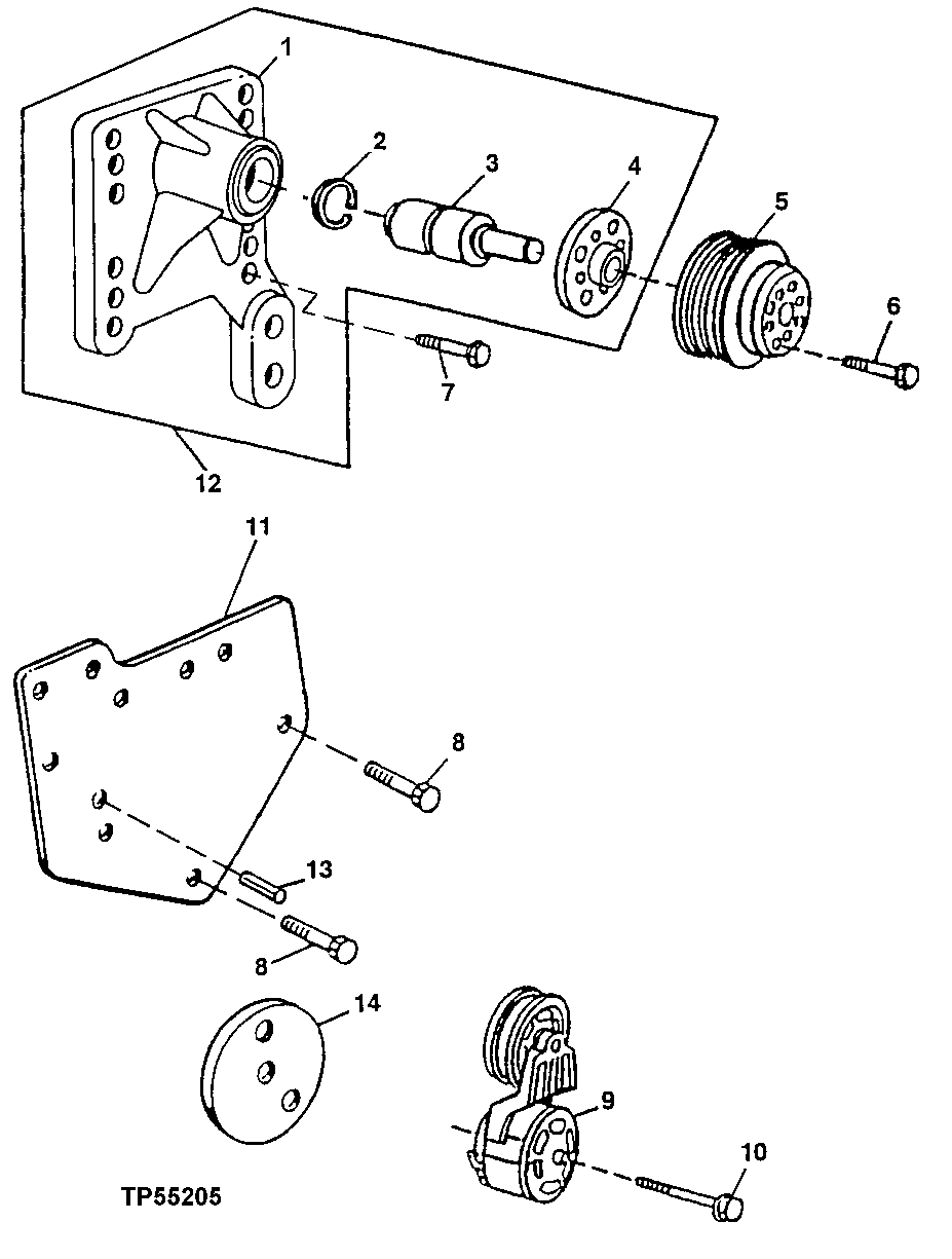
1

Bearing Housing W/ Bearing

(MARKED R134775) ( RE69 292 NO LONGER AVAILABLE)

1шт.

2

E1343FN

Snap Ring

1шт.

3

Shaft

1шт.

4

RE500538

Fan Drive

(MARKED R123284)

1шт.

5

R128662

Pulley

1шт.

R128660

Pulley

1шт.

6

19M7784

Screw

M10 X 20

4шт.

7

19M7835

Screw

M10 X 35

4шт.

8

19M7801

Screw

M8 X 60

1шт.

9

RE70536

Belt Tensioner

1шт.

10

19M8131

Screw

M10 X 70 (SUB FOR 19M7809 AND 19M8340)

1шт.

11

R132168

Support

1шт.

12

RE503664

Support

(MARKED R502014 ) (SUB FOR RE70177)

1шт.

13

34M7061

Spring Pin

8 X 20 mm

1шт.

14

R500321

Spacer

(SUB FOR R132169)

1шт.

Выбрано товаров: 15