Запчасти John Deere 20 138 - OIL PAN PE4045TP051(ESN 026620-151708) (026620 - 151708) 0400C PE4045TP051 (ESN 026620-151708) - 120 EXCAVATOR PE4045TP051 (026620 - 151708) PE4045TP051

Схема запчастей John Deere 20 - 138 - OIL PAN PE4045TP051(ESN 026620-151708) (026620 - 151708) 0400C PE4045TP051 (ESN 026620-151708) - 120 EXCAVATOR PE4045TP051 (026620 - 151708) PE4045TP051
FIT
1:1
100%

Артикул

Название

Примечание

Количество

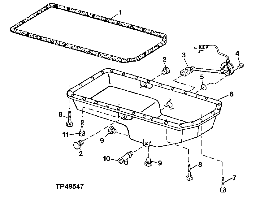
1

R123353

Gasket

1шт.

2

RE46687

Drain Plug

2шт.

3

RE16223

Sensor

ENGINE OIL LEVEL

1шт.

4

19M8425

Cap Screw

M6 X 16 (SUB FOR 19M7560)

3шт.

5

R47154

O-Ring

1шт.

6

R121622

Oil Pan

1шт.

7

19M7868

Screw

M8 X 30

4шт.

8

19M7867

Cap Screw

24шт.

9

RE46685

Fitting Plug

2шт.

10

RE507952

Drain Valve

(SUB FOR RE59579, THIS APPLICATION)

1шт.

11

19M7799

Plug

4шт.

Выбрано товаров: 11