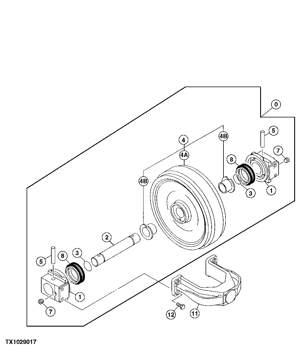
Запчасти John Deere 20 2 - FRONT IDLER (STEEL TRACK) 0130 Track Systems

Схема запчастей John Deere 20 - 2 - FRONT IDLER (STEEL TRACK) 0130 Track Systems
FIT
1:1
100%

Артикул

Название

Примечание

Количество

0

Idler

(QUANTITY OF ONE EACH SIDE OF UNIT) (IF AT 216004 NO LONGER AVAILABLE, SUB AT316089)

2шт.

Idler

(SUB FOR AT180421 ) (SUB AT316089) (QUANTITY OF ONE EACH SIDE OF UNIT)

2шт.

1

1020173

Bearing

(USE WITH AT216004 ) (SUB FOR AT215833)

2шт.

AT180461

Bracket

(USE WITH AT180421)

2шт.

2

3035618

Axle

(USE WITH AT216004 ) (SUB FOR TH108854)

1шт.

AT180424

Shaft

(USE WITH AT180421)

1шт.

3

CH11571

Packing

(USE WITH AT216004)

2шт.

AT180425

O-Ring

(USE WITH AT180421)

2шт.

4

Idler

( AT216005 NO LONGER AVAILABLE ) (SUB AT316089 IDLER ASSEMBLY)

1шт.

AT180422

Roller Shell

(USE WITH AT180421)

1шт.

4A

Idler

1шт.

4B

3069556

Bushing

(USE WITH AT216004 ) (SUB FOR AT215857)

2шт.

AT180423

Bushing

(USE WITH AT180421)

2шт.

5

4255804

Pin

18 X 97 mm (0.709" X 3.819") (USE WITH AT216004 ) (SUB FOR AT154230)

2шт.

AT180426

Pin

18 X 100 mm (0.709" X 3-1 5/16") (USE WITH AT180421)

2шт.

7

942011

Fitting Plug

(SUB FOR 94-2011 AND TH100434)

2шт.

8

AT213829

Seal

(SUB FOR TH102359 ) (USE WITH AT216004)

2шт.

AT180427

Seal

(USE WITH AT180421)

2шт.

11

1014798

Yoke

(USE WITH AT216004 ) (SUB FOR AT1540 49)(QUANTITY OF 1 EACH SIDE OF UNIT)

2шт.

AT180428

Yoke

(USE WITH AT180421)(QUANTI TY OF 1 EACH SIDE OF UNIT)

2шт.

12

19M8035

Cap Screw

M16 X 35 (QUANTITY OF 4 EACH SIDE OF UNIT)

8шт.

Выбрано товаров: 21