Запчасти John Deere 20 7 - ADJUSTER (RUBBER TRACK) 0130 Track Systems

Схема запчастей John Deere 20 - 7 - ADJUSTER (RUBBER TRACK) 0130 Track Systems
FIT
1:1
100%

Артикул

Название

Примечание

Количество

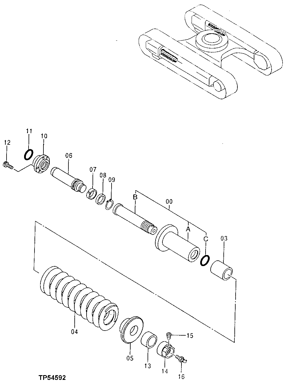
0

Adjuster

( 9146427 NO LONGER AVAI LABLE) (SUB FOR AP34539)

1шт.

0A

3073803

Barrel

(SUB FOR AT215871)

1шт.

0B

3076991

Hydraulic Cylinder Rod

(SUB FOR AT216541)

1шт.

0C

4360347

O-Ring

(SUB FOR AT215940)

1шт.

3

4357537

Spacer

(SUB FOR AT215933)

1шт.

4

3069759

Spring

(SUB FOR AT215861)

1шт.

5

4357538

Washer

(SUB FOR AT215934)

1шт.

6

3034935

Rod

(SUB FOR TH108872)

1шт.

7

TH108869

Wear Ring

1шт.

8

4179303

Packing

(SUB FOR TH108870)

1шт.

9

40M7047

Snap Ring

1шт.

10

3073805

Flange

(SUB FOR AT215873)

1шт.

11

4113160

O-Ring

54.600 X 5.700 mm (2.150" X 0.224") (SUB FOR TH106961)

1шт.

12

19M8446

Screw

M8 X 20

4шт.

13

4360463

Spacer

(SUB FOR AT216538)

1шт.

14

4357539

Nut

(SUB FOR AT215935)

1шт.

15

4248106

Fitting Plug

(SUB FOR AT154185)

1шт.

16

4255055

Valve

(SUB FOR AT154223)

1шт.

Выбрано товаров: 18