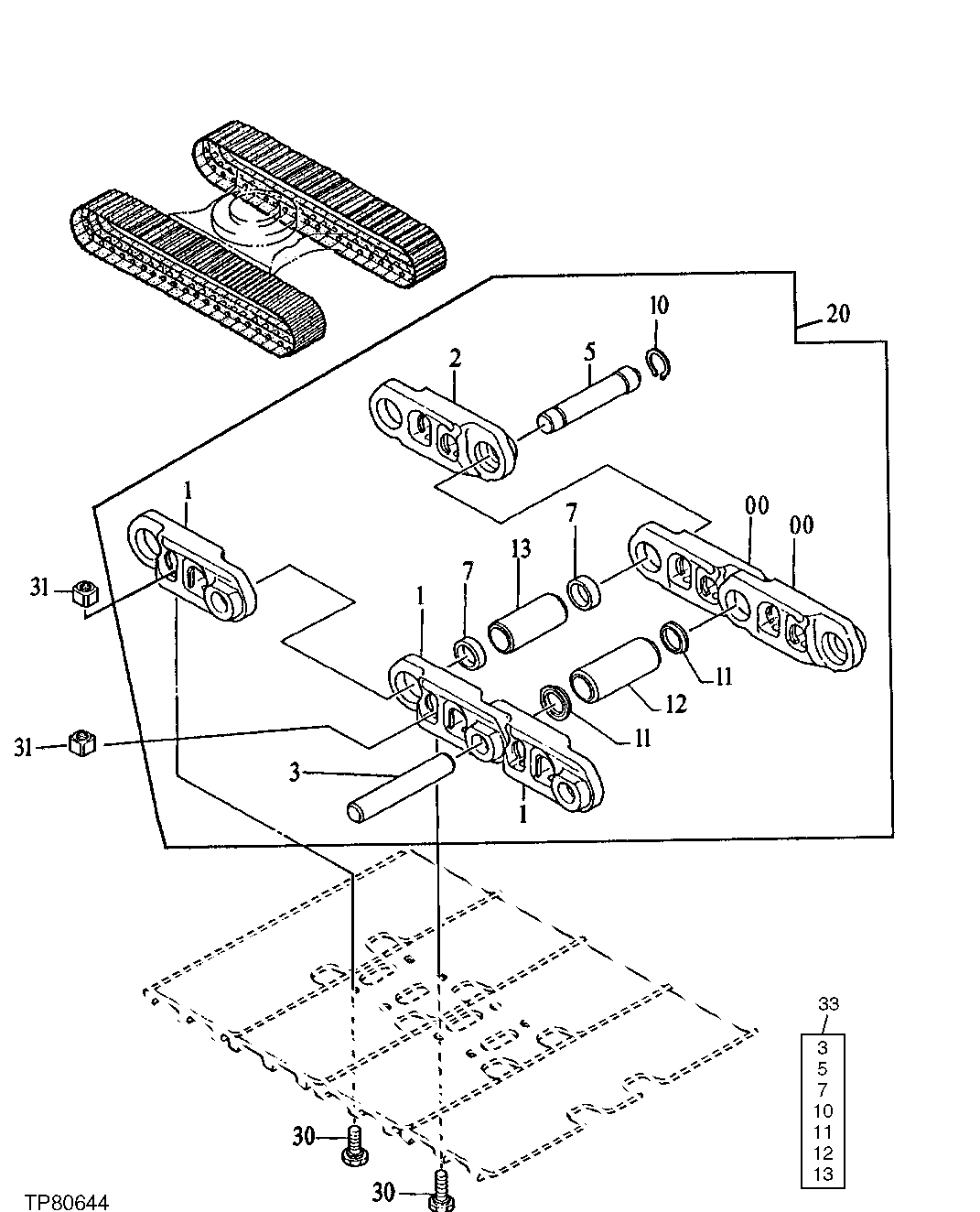
Запчасти John Deere 20 14 - TRACK LINK CHAINS (178/175MM LONG PINS) (SN -030066) 0130 Track Systems

Схема запчастей John Deere 20 - 14 - TRACK LINK CHAINS (178/175MM LONG PINS) (SN -030066) 0130 Track Systems
FIT
1:1
100%

Артикул

Название

Примечание

Количество

0

AT128410

Strutted LINK-RH

EACH SIDE, RH

43шт.

1

T212009

Strutted LINK-RH

EACH SIDE SUB FOR AT128411, LH

44шт.

2

AT128412

Master Track LINK-RH

EACH SIDE SUB FOR T212029

1шт.

3

T212040

Track Pin

EACH SIDE, 178MM LONG SUB FOR AT173246 AND TH108896

43шт.

5

AT173247

Master Track Pin

EACH SIDE, 175MM LONG SUB FOR TH108897

1шт.

7

TH108898

Spacer

EACH SIDE, MASTER

2шт.

10

T212046

Snap Ring

EACH SIDE SUB FOR AT180439 OR TH108899

1шт.

11

4347208

Seal

EACH SIDE SUB FOR AT128413 OR AT173245

86шт.

12

AT128414

Bushing

EACH SIDE

43шт.

13

TH100397

Bushing

EACH SIDE, MASTER

1шт.

20

Track Chain W/O Shoes

EACH SIDE, AT154520 NO LONGER AVAILABLE - ORDER PARTS OR AT316036 COMPLETE CHAIN

1шт.

30

T212050

Track Bolt

EACH SIDE SUB FOR AT1284 15, AT173248 OR AT180444

176шт.

31

T212051

Nut

EACH SIDE SUB FOR AT128416 OR AT180443

176шт.

33

Pin & Bushing Kit

ONE FOR EACH SIDE AT170090 NLA, INCLUDES ( 43) AT128414, (86) 4347208, (42) AT173246, A T173247, TH100397, (2) TH108898 AND TH108899

ARшт.

Выбрано товаров: 0