Запчасти John Deere 20 15 - TRACK LINK CHAINS (170/167MM LONG PINS) (SERIAL NO. 030067-031437) 0130 Track Systems

Схема запчастей John Deere 20 - 15 - TRACK LINK CHAINS (170/167MM LONG PINS) (SERIAL NO. 030067-031437) 0130 Track Systems
FIT
1:1
100%

Артикул

Название

Примечание

Количество

0

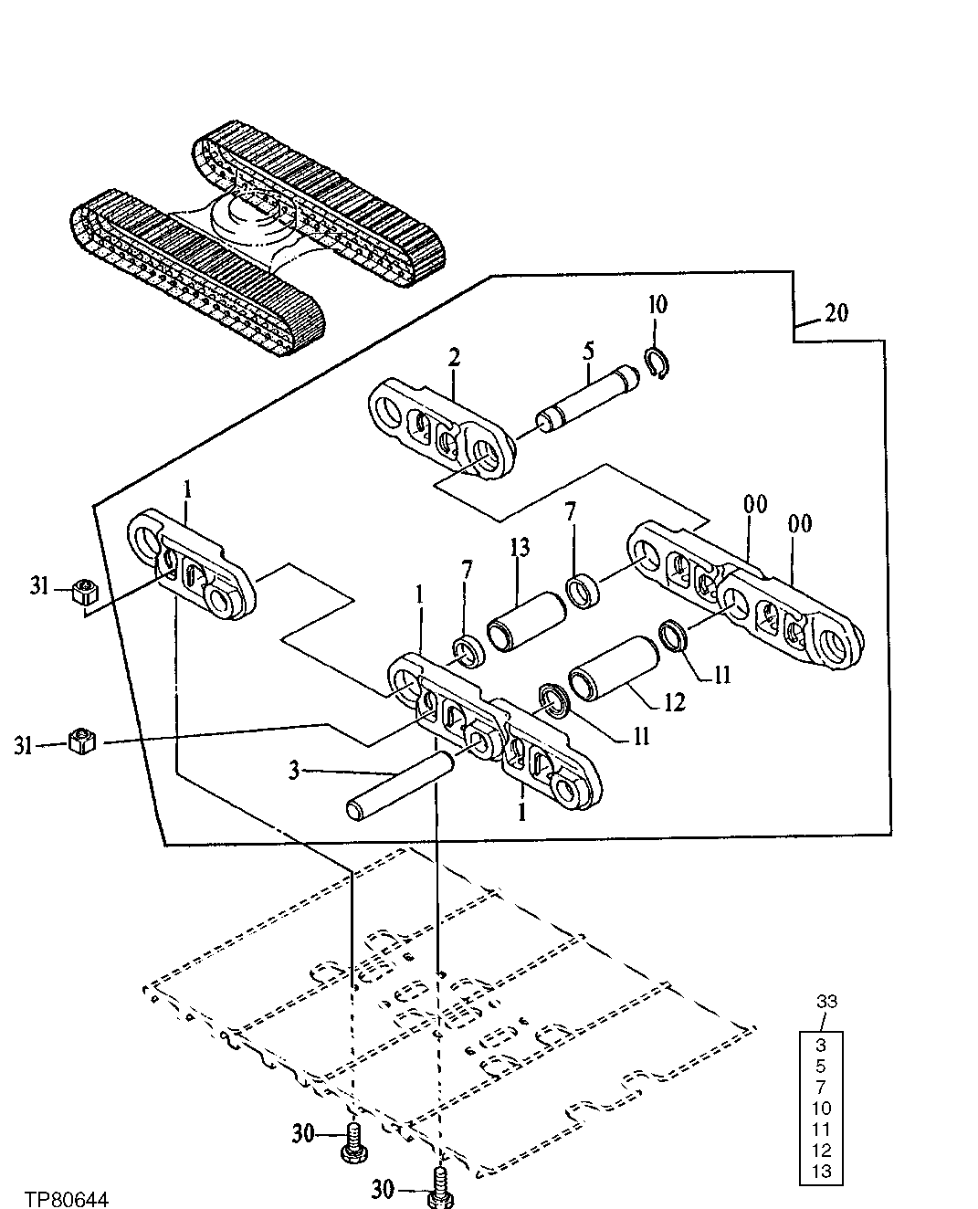
Track Link

(RIGHT SIDE) (SUB FOR AT18043 3 (EACH SIDE) ( 1021040 NLA))

43шт.

T212009

Strutted LINK-RH

(SUB FOR 1021040, 1026945 OR A T185783 ) (USE WITH T212015, (2 ) T212040, T212048 AND T212042)

43шт.

1

AT180434

Strutted LINK-LH

(EACH SIDE)

44шт.

Track Link

(SUB FOR AT185784)(EAC H SIDE) ( 1021041 NLA)

43шт.

T212015

Track Link

(SUB FOR 1021041, 1026946 OR AT185 784 ) (USE WITH T212009, T212040, ( 2) T212048 AND T212042)(EACH SIDE)

43шт.

2

Pin

(MASTER) ( 4345682 NO LONGER AVAILABLE) (SUB FOR AT180435)

1шт.

T212029

Master Track LINK-RH

(SUB FOR AT185785)

1шт.

3

4345321

Pin

(EACH SIDE) (170MM LONG) (SUB FOR AT180436)

43шт.

5

4345326

Pin

(MASTER) (167MM LONG) (SUB FOR AT180437)

1шт.

T212044

Master Track Pin

(SUB FOR AT185788)

1шт.

7

4345327

Washer

(EACH SIDE) (MASTER) (SUB FOR AT180438)

1шт.

T212045

Spacer

(SUB FOR AT185789)

2шт.

10

T212046

Snap Ring

(EACH SIDE) (SUB FOR AT180439, 4192665, TH108899 OR T212046)

1шт.

11

4371380

Seal

(EACH SIDE) (SUB FOR AT180440)

86шт.

12

T212042

Track Bushing

(EACH SIDE) (SUB FOR AT180441 OR T191229)

43шт.

13

T212043

Master Track Bushing

(EACH SIDE) (MASTER) (SUB FOR AT180442 OR T191230)

1шт.

20

Track Chain W/O Shoes

(EACH SIDE) ( AT180432 NO LONGER AVAILABLE - ORDER PARTS OR AT316036 COMPLETE CHAIN)

1шт.

30

T212050

Track Bolt

(EACH SIDE) (SUB FOR AT180444)

176шт.

31

T212051

Nut

(EACH SIDE) (SUB FOR AT180443)

176шт.

33

Pin & Bushing Kit

(ONE FOR EACH SIDE) ( AT1804 63 NOT AVAILABLE FOR SERVICE)

ARшт.

Выбрано товаров: 20