Запчасти John Deere 20 16 - TRACK LINK CHAIN (175/172MM LONG PINS) (M SEAL) (SN 031438- ) 0130 Track Systems

Схема запчастей John Deere 20 - 16 - TRACK LINK CHAIN (175/172MM LONG PINS) (M SEAL) (SN 031438- ) 0130 Track Systems
FIT
1:1
100%

Артикул

Название

Примечание

Количество

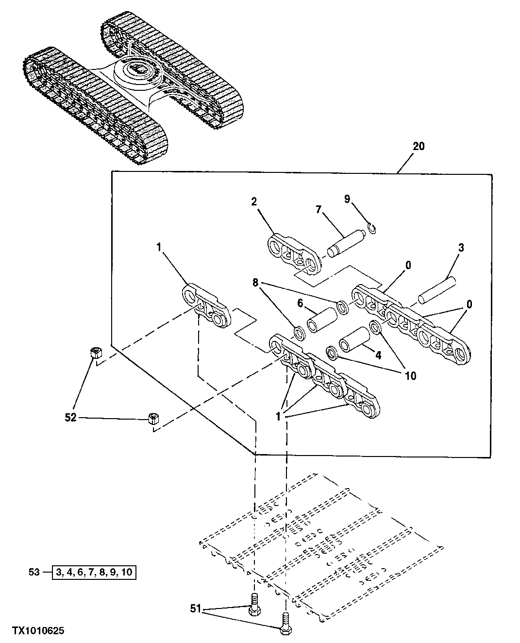
0

T212009

Strutted LINK-RH

(EACH SIDE) (SUB FOR AT185783)

43шт.

1

T212015

Track Link

(EACH SIDE) (SUB FOR AT185784)

44шт.

2

T212029

Master Track LINK-RH

(EACH SIDE) (MASTER) (SUB FOR AT185785)

1шт.

3

T212040

Track Pin

(EACH SIDE) (175MM LEN GTH) (SUB FOR AT185786)

43шт.

4

T212042

Track Bushing

(EACH SIDE) (SUB FOR AT180441 OR T191229)

43шт.

6

T212043

Master Track Bushing

(EACH SIDE) (MASTER) (SUB FOR AT180442 OR T191230)

1шт.

7

T212044

Master Track Pin

(EACH SIDE) (172MM LEN GTH) (SUB FOR AT185788)

1шт.

8

T212045

Spacer

(EACH SIDE) (SUB FOR AT185789)

2шт.

9

T212046

Snap Ring

(EACH SIDE) ( TH108899 NA)

1шт.

10

T212048

Seal

(EACH SIDE) (SUB FOR AT 185787 (M SEAL DESIGN))

86шт.

20

Track Chain W/O Shoes

(ONE EACH SIDE OF UNIT) (SUB AT3160 36 ( AT185781 NO LONGER AVAILABLE))

2шт.

51

T212050

Track Bolt

(EACH SIDE) (SUB FOR AT180444)

176шт.

52

T212051

Nut

(EACH SIDE) (SUB FOR AT180443)

176шт.

53

AT324665

Pin & Bushing Kit

(SUB FOR AT185795 ) (ALSO ORDER (3) T212040, (3) T212042, (6) T212048)

1шт.

Выбрано товаров: 14