Запчасти John Deere 20 282 - Heavy Duty Bucket Assembly 3302 BUCKETS, TEETH, SHANKS AND SIDECUTTERS

Схема запчастей John Deere 20 - 282 - Heavy Duty Bucket Assembly 3302 BUCKETS, TEETH, SHANKS AND SIDECUTTERS
FIT
1:1
100%

Артикул

Название

Примечание

Количество

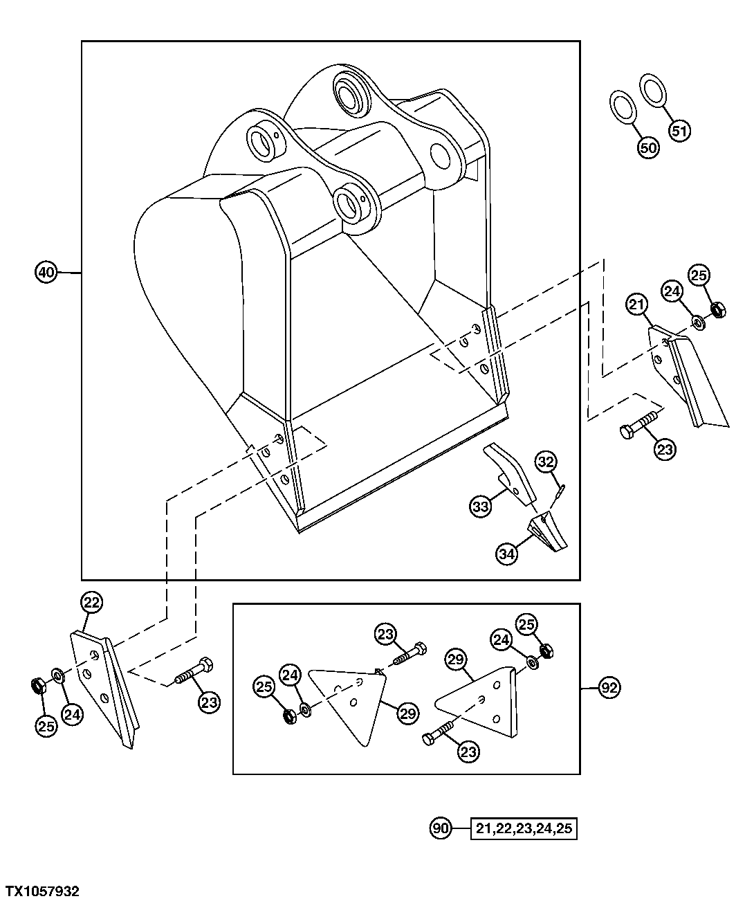
21

CE17748L3

End Bit

1шт.

22

CE17748R3

End Bit

1шт.

23

09H1772

Bolt

7/8" X 3-1/2"

12шт.

24

12H245

Lock Washer

7/8"

12шт.

25

14H1077

Nut

7/8"

12шт.

29

TPDE31329

Shroud

(WEAR)

2шт.

32

TP160

Pin

ARшт.

33

T109X220

Bucket Tooth Adapter

ARшт.

34

TF220

Tooth

ARшт.

40

AT339031

Excavator Bucket

(SUB FOR AT332661)(WHOLEGOODS) (2 4 INCH - .48 CUBIC YARD) (4 TEETH)

1шт.

AT339033

Excavator Bucket

(SUB FOR AT332662)(WHOLEGOODS) (3 0 INCH - .65 CUBIC YARD) (4 TEETH)

1шт.

AT339035

Excavator Bucket

(SUB FOR AT332663)(WHOLEGOODS) (3 6 INCH - .81 CUBIC YARD) (5 TEETH)

1шт.

50

T241931

Washer

70 X 110 X 1 mm (2.756" X 4.331" X 0.039") (1 MM)

ARшт.

51

T241938

Shim

(.5 MM)

ARшт.

90

AT342512

Kit

1шт.

92

AT342511

Kit

(EDGE PROTECTOR KIT)

1шт.

Выбрано товаров: 0