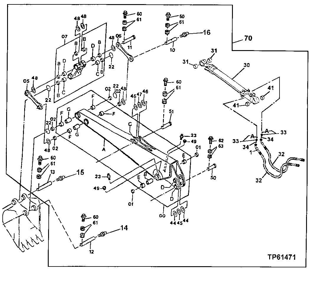
Запчасти John Deere 20 304 - LONG ARM 3.01 M (9 FT 11 IN) 3340 BACKHOE AND EXCAVATOR FRAMES

Схема запчастей John Deere 20 - 304 - LONG ARM 3.01 M (9 FT 11 IN) 3340 BACKHOE AND EXCAVATOR FRAMES
FIT
1:1
100%

Артикул

Название

Примечание

Количество

0

AP34181

Arm

1шт.

0A

Arm

1шт.

0B

4374572

Spacer

SUB FOR P63186

1шт.

0C

P60783

Bushing

1шт.

0D

P60784

Spacer

2шт.

0E

3051399

Bushing

SUB FOR AT154116

2шт.

0F

AT122209

Bushing

65 X 80 X 50 mm (2.559 " X 3.150" X 1-31/32")

4шт.

0G

4124575

Spacer

SUB FOR TH100369

2шт.

1

TH104472

Seal

2шт.

2

TH100374

Seal

4шт.

5

9735190

Link

SUB FOR AP34182

1шт.

6

4257933

Link

SUB FOR AT154248

1шт.

7

8050179

Link

SUB FOR AT154498

1шт.

7B

TH100374

Seal

6шт.

7C

AT122209

Bushing

65 X 80 X 50 mm (2.559" X 3.15 0" X 1-31/32") SUB FOR TH108930

2шт.

7D

4188796

Bushing

2шт.

10

TH108940

Pin

SUB FOR AP33639, ALONG WITH TH100074

1шт.

11

P66990

Shear Pin

SUB FOR TH108943

1шт.

P66990

Pin

1шт.

12

AT318059

Pin Fastener

SUB FOR 3084540; ALSO ORDER TH100074; SUB FOR TH108941

1шт.

13

P68886

Pin

NLA; SUB FOR TH108942; ORDER 3089242

1шт.

3089242

Pin Fastener

Not Illustrated Pin Not Drilled For G rease Fitting See DTAC Solution 90615

1шт.

14

TH100074

Lubrication Fitting

1шт.

15

TH100074

Lubrication Fitting

USE WITH P68886

1шт.

16

TH100074

Lubrication Fitting

1шт.

22

4276696

O-Ring

Standard O-Ring

4шт.

AT349465

Seal

Split O-Ring

4шт.

23

TH100074

Lubrication Fitting

2шт.

30

Cylinder

Bucket Cylinder See Se parate Page For Detail

1шт.

31

H157793

Bushing

2шт.

32

4359576

Hydraulic Hose

SUB FOR AT174905

2шт.

33

4189602

Fitting

SUB FOR TH108350

2шт.

33A

4506418

O-Ring

17.800 X 2.400 mm (0.701 " X 3/32") SUB FOR U46489

1шт.

34

T77857

O-Ring

12.421 X 1.778 mm (0.489" X 0.070")

2шт.

41

H157794

Bushing

2шт.

44

4366692R

Thrust Washer

SUB FOR TH105593, 4366692, AT214030

2шт.

45

4367410R

Thrust Washer

SUB FOR TH105592, 4367410, AT214040

1шт.

46

4179807

Washer

SUB FOR TH108045

2шт.

47

4284139

Washer

SUB FOR AT154378

1шт.

48

4075357

Washer

66 X 120 X 1 mm (2.598" X 4.7 24" X 0.039") SUB FOR TH108944

6шт.

49

4075358

Washer

66 X 120 X 2 mm (2.598" X 4.7 24" X 0.079") SUB FOR TH108955

2шт.

50

AT154898

Pin

1шт.

51

3044367

Pin

SUB FOR AT134035

1шт.

60

19M8351

Cap Screw

M16 X 125 SUB FOR 19M7941

5шт.

61

14M7276

Nut

M16

10шт.

62

19M7907

Screw

M20 X 140

1шт.

63

14M7277

Nut

M20

2шт.

70

AP33373

Arm

WHOLE GOODS Includes Long Arm, B ucket Cylinder, Hoses and Linkage

1шт.

Выбрано товаров: 48