Запчасти John Deere 20 313 - MAIN PIPINGS 3360 HYDRAULIC SYSTEM

Схема запчастей John Deere 20 - 313 - MAIN PIPINGS 3360 HYDRAULIC SYSTEM
FIT
1:1
100%

Артикул

Название

Примечание

Количество

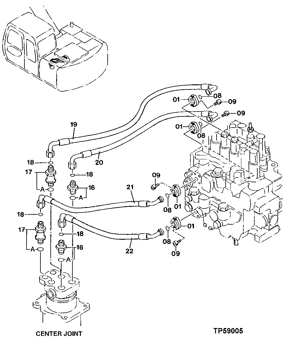
1

4510173

Fitting

SUB FOR TH108341

8шт.

8

R69667

O-Ring

18.644 X 3.531 mm (47/64" X 0.139")

4шт.

9

19M7657

Screw

M8 X 25 SUB FOR P61954 OR J780825

16шт.

16

4188623

Fitting

SUB FOR TH110492

2шт.

16A

AT318035

O-Ring

SUB FOR 4506424, TH100055

1шт.

17

4188625

Fitting

SUB FOR P61750

2шт.

17A

AT318035

O-Ring

SUB FOR 4506424, TH100055

1шт.

18

T77857

O-Ring

12.421 X 1.778 mm (0.489" X 0.070")

4шт.

19

4203130

Hydraulic Hose

SUB FOR P61613

1шт.

20

FYA00013647

Hose

SUB FOR 4203129 AND P61612

1шт.

21

4192047

Hydraulic Hose

SUB FOR P61752

1шт.

22

FYA00013649

Hose

SUB FOR 4354467 AND P61631

1шт.

Выбрано товаров: 12