Качественные детали и логистика
Оригинальные и аналоговые запчасти с доставкой по России, Казахстану и Беларуси
©2022 PartSell ООО "Система" ИНН 2463123282 ОГРН 1212400004838
Центральный офис: г. Красноярск, Академика Киренского, д.87, пом.4
Телефон: 8 (800) 777-65-74 Email: zakaz@partsell.ru
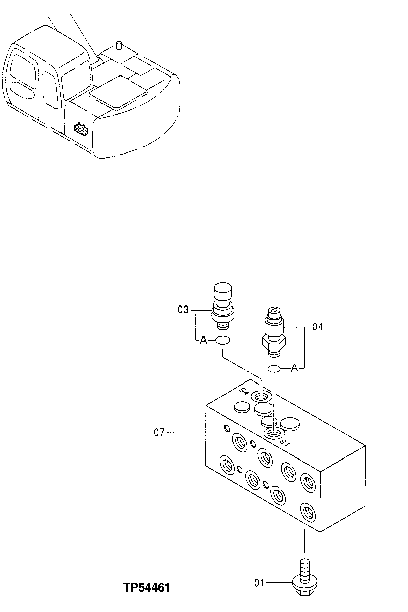
330 - SHOCKLESS VALVE
№
Артикул
Название
Примечание
Количество
1
19M7402
Cap Screw
M10 X 25
2шт.
12M7066
Lock Washer
10 mm
24M7028
Washer
10.500 X 20 X 2 mm
3
4332040
Sensor
(SUB FOR AT213840)(ARM IN PRESSURE)
1шт.
3A
M800650
Packing
4
4333040
Switch
(SUB FOR AP33668 ) (SUB FOR AT213846)(BOOM UP PRESSURE)
4A
7
4367131
Hyd Actuated Control Valve
FLOW (STANDARD) (SUB FOR AP34033)
4371949
FLOW (WITH ANTI-RUST PREV ENTION) (SUB FOR AP35561)
Выбрано товаров: 0