Качественные детали и логистика
Оригинальные и аналоговые запчасти с доставкой по России, Казахстану и Беларуси
©2022 PartSell ООО "Система" ИНН 2463123282 ОГРН 1212400004838
Центральный офис: г. Красноярск, Академика Киренского, д.87, пом.4
Телефон: 8 (800) 777-65-74 Email: zakaz@partsell.ru
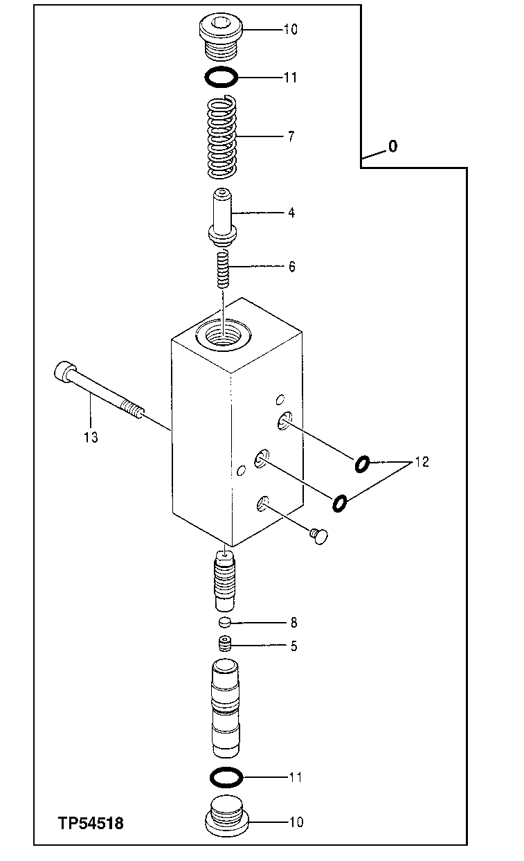
379 - TIMER VALVE
№
Артикул
Название
Примечание
Количество
0
4373200
Flow Control Hyd. Valve
(SUB FOR AT215982)
1шт.
4
0669101
Valve Seat
(SUB FOR AT215730)
5
0669102
Orifice
(SUB FOR AT215731)
6
0669103
Spring
(SUB FOR AT215732)
7
0669104
(SUB FOR AT215733)
8
0669105
Filter
(SUB FOR AT215734)
10
0311336
Pipe Plug
(SUB FOR TH109082)
2шт.
11
CH11570
O-Ring
13.800 X 2.400 mm (0.543" X 3/32")
12
0669106
(SUB FOR AT215735)
13
19M9483
Screw
M5 X 50 (SUB FOR TH101 503 ) (SUB FOR 0215310)
Выбрано товаров: 0