Качественные детали и логистика
Оригинальные и аналоговые запчасти с доставкой по России, Казахстану и Беларуси
©2022 PartSell ООО "Система" ИНН 2463123282 ОГРН 1212400004838
Центральный офис: г. Красноярск, Академика Киренского, д.87, пом.4
Телефон: 8 (800) 777-65-74 Email: zakaz@partsell.ru
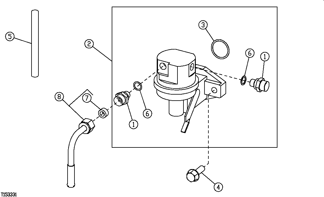
60 - FUEL TRANSFER PUMP
№
Артикул
Название
Примечание
Количество
1
R500270
Fitting
2шт.
2
RE66153
Fuel Pump
1шт.
3
R123273
O-Ring
4
RE504233
Cap Screw
5
R133405
Pin
6
R500271
7
R74012
Sealing Washer
8
AP35377
Adapter Fitting
Выбрано товаров: 0