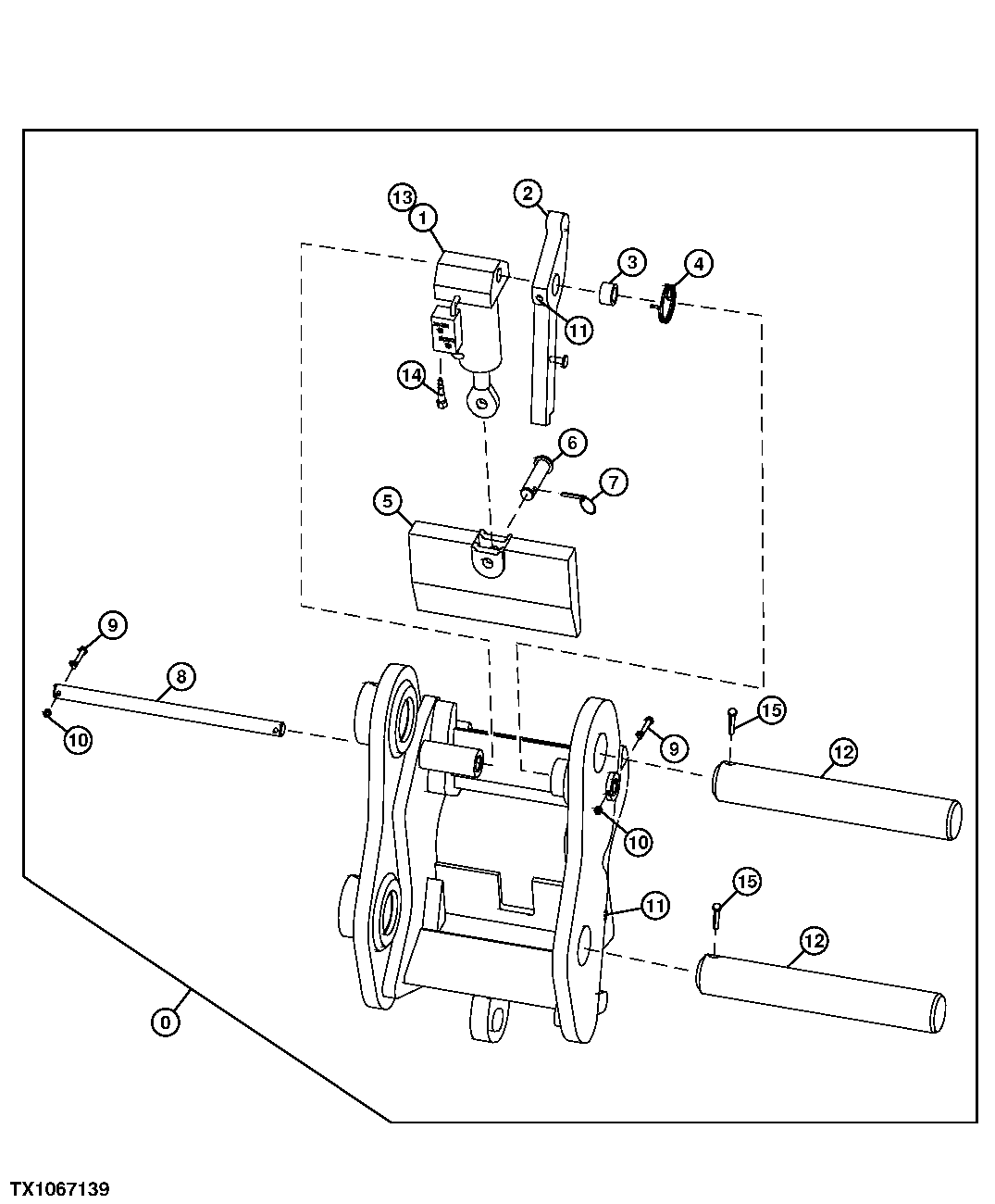
Запчасти John Deere 20C 174 - HYDRAULIC COUPLER 3302 BUCKETS WITH TEETH

Схема запчастей John Deere 20C - 174 - HYDRAULIC COUPLER 3302 BUCKETS WITH TEETH
FIT
1:1
100%

Артикул

Название

Примечание

Количество

0

Hyd. Quick-Connect Coupler

( AT343215 NLA)

1шт.

1

AT343211

Hydraulic Cylinder

1шт.

2

T232160

Lock Plate

1шт.

3

T232173

Bushing

1шт.

4

T232176

Extension Spring

1шт.

5

T232177

Lock Plate

1шт.

6

T232184

Retainer

1шт.

7

PM02704

Quick Lock Pin

1шт.

8

T232189

Pin

1шт.

9

19H3220

Cap Screw

1/4" X 2-1/2"

2шт.

10

K40001

Lock Nut

6.350 mm (1/4")

2шт.

11

JD5815

Lubrication Fitting

2шт.

12

AT343205

Pin

2шт.

13

AT343210

Seal Kit

1шт.

14

T232235

Check Valve

1шт.

15

AC01130NC

Bolt

2шт.

Выбрано товаров: 16