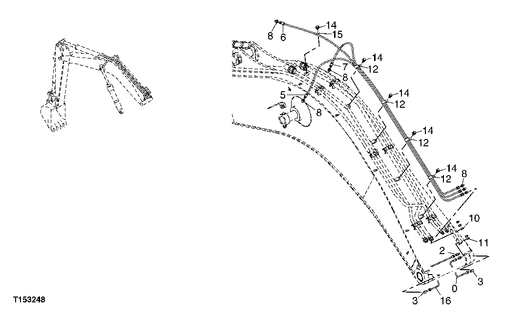
Запчасти John Deere 20C 250 - LUBRICATION HOSES AND LINES (ON BOOM) 3363 LINES, HOSES & FITTINGS

Схема запчастей John Deere 20C - 250 - LUBRICATION HOSES AND LINES (ON BOOM) 3363 LINES, HOSES & FITTINGS
FIT
1:1
100%

Артикул

Название

Примечание

Количество

0

4361021

Oil Line

1шт.

2

4360981

Adapter Fitting

2шт.

3

4345297

Elbow Fitting

2шт.

5

4260314

Hydraulic Hose

1шт.

6

4429017

Hydraulic Hose

1шт.

7

4260314

Hydraulic Hose

1шт.

8

4154651

Adapter Fitting

6шт.

10

JD7769

Lubrication Fitting

SUB FOR TH100364

3шт.

11

4148896

Lubrication Fitting

2шт.

12

T152608

Clamp

4шт.

14

19M8324

Cap Screw

M10 X 16

5шт.

15

TH108600

Clip

1шт.

16

4370492

Line

SUB FOR P63321

1шт.

Выбрано товаров: 0