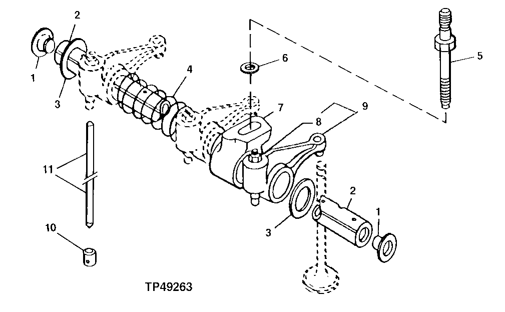
Запчасти John Deere 20C 24 - ROCKER ARM SHAFT, PUSH RODS AND ROCKER ARMS 0400 Engine 4045HP050-RE508097 4045HP050

Схема запчастей John Deere 20C - 24 - ROCKER ARM SHAFT, PUSH RODS AND ROCKER ARMS 0400 Engine 4045HP050-RE508097 4045HP050
FIT
1:1
100%

Артикул

Название

Примечание

Количество

1

R54565

Plug

2шт.

2

R123513

Rocker Arm Shaft

1шт.

3

T20316

Washer

2шт.

4

T20314

Spring

3шт.

5

R123271

Stud

4шт.

6

24M7346

Washer

11 X 20 X 2 mm

4шт.

7

R123161

Support

4шт.

8

14M7148

Nut

M10

1шт.

9

RE68695

Rocker Arm

8шт.

10

R123565

Cam Follower

8шт.

11

R107731

Push Rod

8шт.

Выбрано товаров: 0