Запчасти John Deere 20C 58 - FAN DRIVE SUPPORT, PULLEY 0400 Engine 4045HP050-RE508097 4045HP050

Схема запчастей John Deere 20C - 58 - FAN DRIVE SUPPORT, PULLEY 0400 Engine 4045HP050-RE508097 4045HP050
FIT
1:1
100%

Артикул

Название

Примечание

Количество

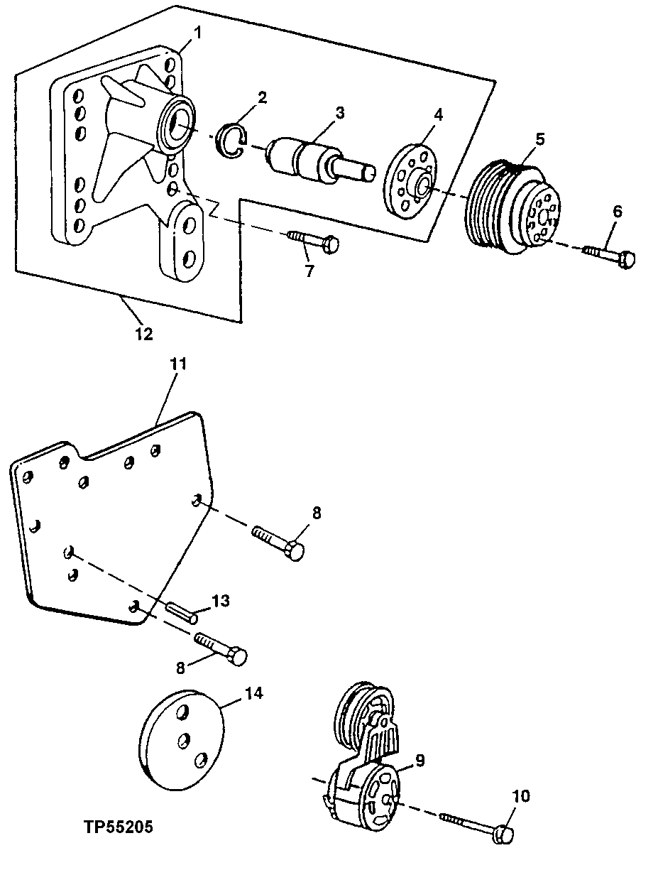
1

Bearing Housing W/ Bearing

(MARKED R502014)

1шт.

2

E1343FN

Snap Ring

1шт.

3

Shaft

1шт.

4

RE500538

Fan Drive

(MARKED R123284)

1шт.

5

R128662

Pulley

1шт.

6

19M7784

Screw

M10 X 20

4шт.

7

19M7835

Screw

M10 X 35

4шт.

8

19M7801

Screw

M8 X 60

1шт.

9

RE70536

Belt Tensioner

(SUB RE518097, THIS APPLICATION , 19M8183, 24M7106 AND R518210)

1шт.

10

19M8131

Screw

M10 X 70 (USE WITH RE70536)

1шт.

19M8183

Cap Screw

M10 X 90 (USE WITH RE518097)

1шт.

24M7106

Washer

10 X 18 X 2.500 mm (USE WITH RE518097)

1шт.

R518210

Spacer

(USE WITH RE518097)

1шт.

11

R132168

Support

1шт.

12

RE503664

Support

(MARKED R502014)

1шт.

13

34M7061

Spring Pin

8 X 20 mm

1шт.

14

R500321

Spacer

1шт.

Выбрано товаров: 17