Запчасти John Deere 35C RTS 180 - LOW PRESSURE FUEL HOSES (SN. 350023- ) 0563 FUEL LINES & FITTINGS

Схема запчастей John Deere 35C RTS - 180 - LOW PRESSURE FUEL HOSES (SN. 350023- ) 0563 FUEL LINES & FITTINGS
FIT
1:1
100%

Артикул

Название

Примечание

Количество

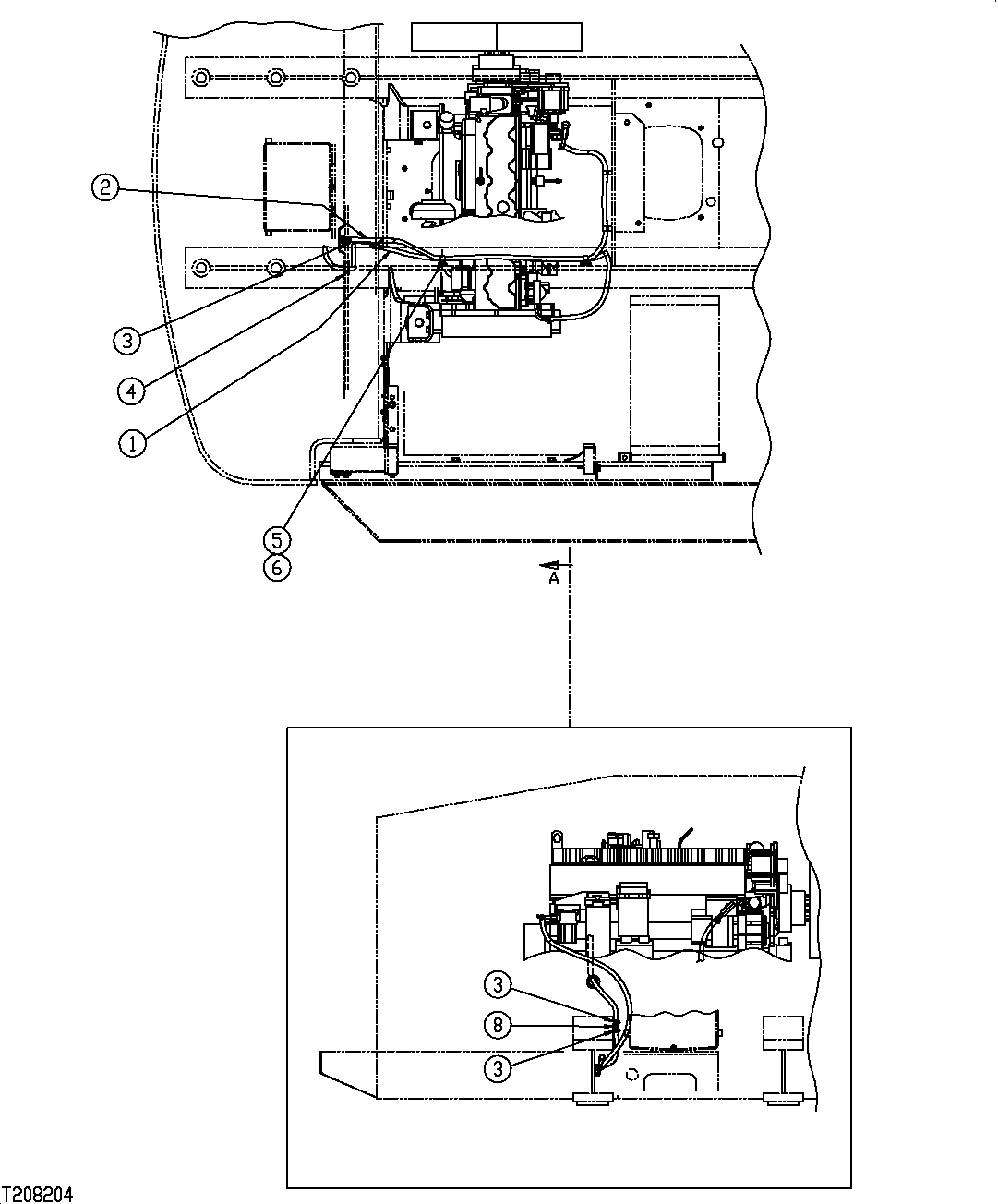
1

Bulk Hose

( FFSB114223 OR FFSB114226 NLA) (FURNISH T Y22330 BULK MATERIAL CUT TO 2550 MM LENGTH)

1шт.

FFSB113622

Sleeve

(SUB FOR FFSB114227)(CUT TO 2350 MM LENGTH)

1шт.

2

Bulk Hose

( FFSB113626 OR FFSB113624 NLA) (FURNISH T Y22330 BULK MATERIAL CUT TO 2800 MM LENGTH)

1шт.

FFSB113622

Sleeve

(SUB FOR FFSB113625)(CUT TO 2600 MM LENGTH)

1шт.

3

TY22464

Clamp

(SUB FOR FFSB103981)

3шт.

4

4200176

Grommet

(SUB FOR FFSB108307)

1шт.

5

FFSB107516

Clamp

1шт.

6

19M7938

Cap Screw

M10 X 20 (SUB FOR FFSB107124)

1шт.

8

FFSB114163

Adapter Fitting

1шт.

Выбрано товаров: 9