Качественные детали и логистика
Оригинальные и аналоговые запчасти с доставкой по России, Казахстану и Беларуси
©2022 PartSell ООО "Система" ИНН 2463123282 ОГРН 1212400004838
Центральный офис: г. Красноярск, Академика Киренского, д.87, пом.4
Телефон: 8 (800) 777-65-74 Email: zakaz@partsell.ru
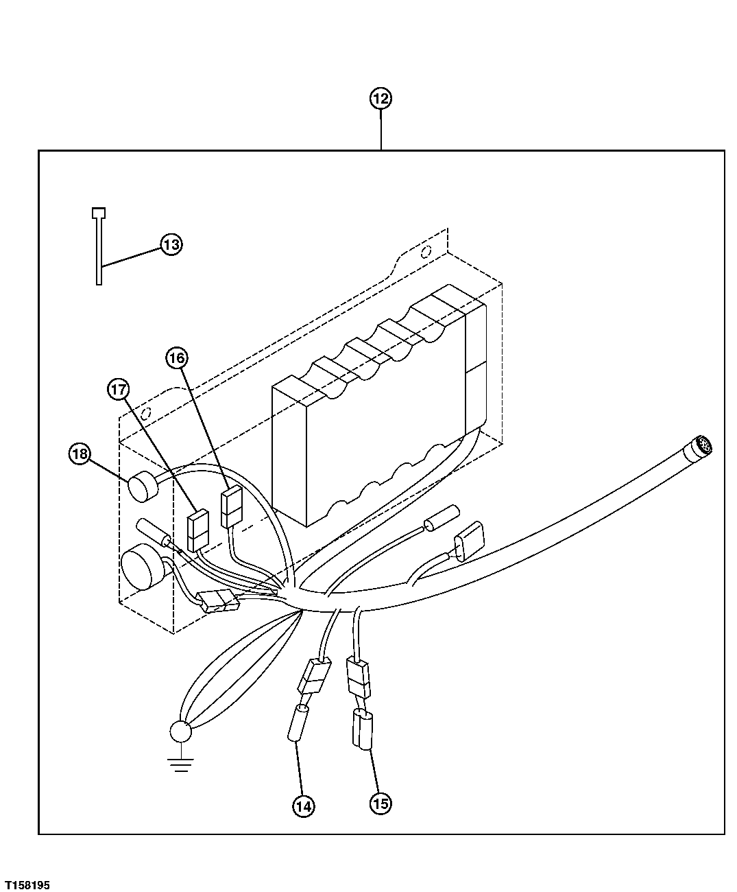
224 - ENGINE CONTROL UNIT WIRING HARNESS
№
Артикул
Название
Примечание
Количество
12
AT199841
Wiring Harness
1шт.
13
H77698
Tie Band
ARшт.
14
AT202778
Electrical Connector Assy
(TERMINATION NODE)
15
AT190929
Resistor
16
57M7121
Fuse
17
57M7125
18
57M7477
Electrical Connector Cap
Выбрано товаров: 0