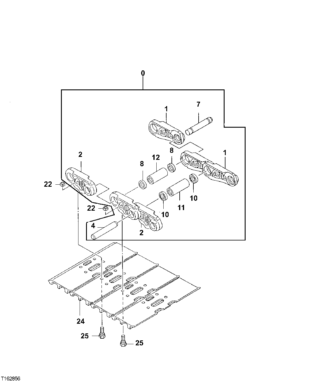
Запчасти John Deere 35C RTS 3 - HIGH DRAWBAR TRACK CHAIN LINK ASSEMBLY AND SHOES 0130 TRACK SYSTEMS

Схема запчастей John Deere 35C RTS - 3 - HIGH DRAWBAR TRACK CHAIN LINK ASSEMBLY AND SHOES 0130 TRACK SYSTEMS
FIT
1:1
100%

Артикул

Название

Примечание

Количество

0

FFSB111213

Track Chain W/O Shoes

(QUANTITY OF 1 EACH SIDE OF UNIT)

1шт.

1

FFSB112428

Link Chain

(RIGHT SIDE LINK)

49шт.

2

FFSB112429

Chain Link

(LEFT SIDE LINK)

49шт.

4

FFSB112435

Master Track Pin

(CHAIN MASTER PIN)

1шт.

7

FFSB112432

Pin Fastener

48шт.

8

FFSB112431

Seal

96шт.

10

FFSB112434

Spacer

(MASTER LINK SPACER)

2шт.

11

FFSB112433

Master Track Bushing

(SUB FOR AT219469)(MASTER LINK BUSHING)

1шт.

12

FFSB112430

Bushing

48шт.

22

FFSB108847

Nut

(EACH SIDE OF UNIT)

196шт.

24

FFSB108848

Double Bar Shoe

(EACH SIDE OF UNIT)

49шт.

25

FFSB108846

Track Bolt

(EACH SIDE OF UNIT)

196шт.

Выбрано товаров: 12