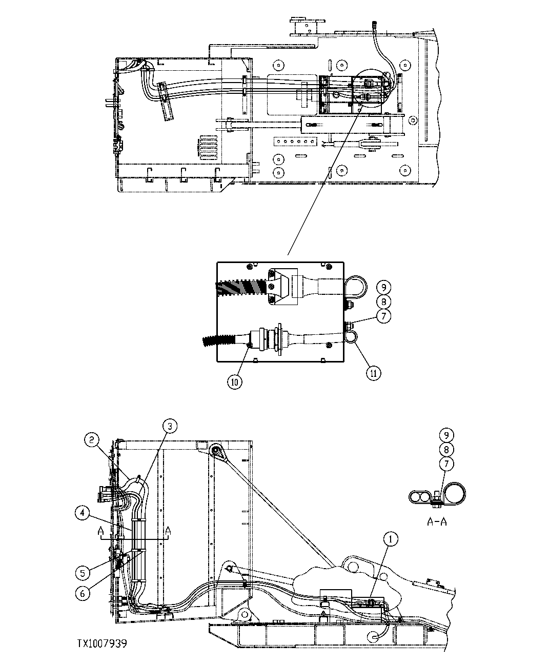
Запчасти John Deere 35C RTS 245 - Side Entry Cab Wiring Harness Extension With 48 In. Riser (Valve In Head Plumbing) 1674B SIDE ENTRY CAB WIRING HARNESS COMPONENT

Схема запчастей John Deere 35C RTS - 245 - Side Entry Cab Wiring Harness Extension With 48 In. Riser (Valve In Head Plumbing) 1674B SIDE ENTRY CAB WIRING HARNESS COMPONENT
FIT
1:1
100%

Артикул

Название

Примечание

Количество

1

Circuit Box

( FFSB110691 NLA)

1шт.

2

FFSB110164

Wiring Harness

Engine

1шт.

3

FFSB110165

Wiring Harness

Upperstructure

1шт.

4

FFSB103742

Wiring Harness

Control, Valve in Head Front Riser

1шт.

5

FFSB102828

Clip

7шт.

6

FFSB110137

Clamp

8шт.

7

14M7274

Nut

M10 (SUB FOR FFSB107411)

8шт.

8

12M7066

Lock Washer

10 mm (SUB FOR FFSB107409)

8шт.

9

24M7096

Washer

10.500 X 18 X 1.600 mm (SUB FOR FFSB107709)

8шт.

10

21M7265

Screw

M5 X 12 (SUB FOR FFSB107789)

7шт.

11

F053301

Holder

(SUB FOR FFSB102835)

1шт.

Выбрано товаров: 11