Качественные детали и логистика
Оригинальные и аналоговые запчасти с доставкой по России, Казахстану и Беларуси
©2022 PartSell ООО "Система" ИНН 2463123282 ОГРН 1212400004838
Центральный офис: г. Красноярск, Академика Киренского, д.87, пом.4
Телефон: 8 (800) 777-65-74 Email: zakaz@partsell.ru
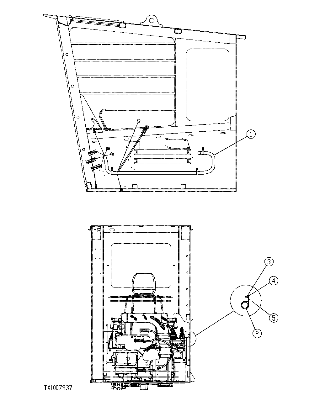
247 - FORESTRY AND DELIMBER CAB DISPLAY MONITOR WIRING HARNESS
№
Артикул
Название
Примечание
Количество
1
FFSB110055
Wiring Harness
1шт.
2
AT119290
Hose Clamp
(SUB FOR FFSB105440)
3шт.
3
14M7274
Nut
M10 (SUB FOR FFSB107411)
4
24M7096
Washer
10.500 X 18 X 1.600 mm (SUB FOR FFSB107709)
5
12M7066
Lock Washer
10 mm (SUB FOR FFSB107409)
Выбрано товаров: 0