Запчасти John Deere 35C RTS 269 - COUNTERWEIGHT AND COVER PANELS 1749 CHASSIS WEIGHTS

Схема запчастей John Deere 35C RTS - 269 - COUNTERWEIGHT AND COVER PANELS 1749 CHASSIS WEIGHTS
FIT
1:1
100%

Артикул

Название

Примечание

Количество

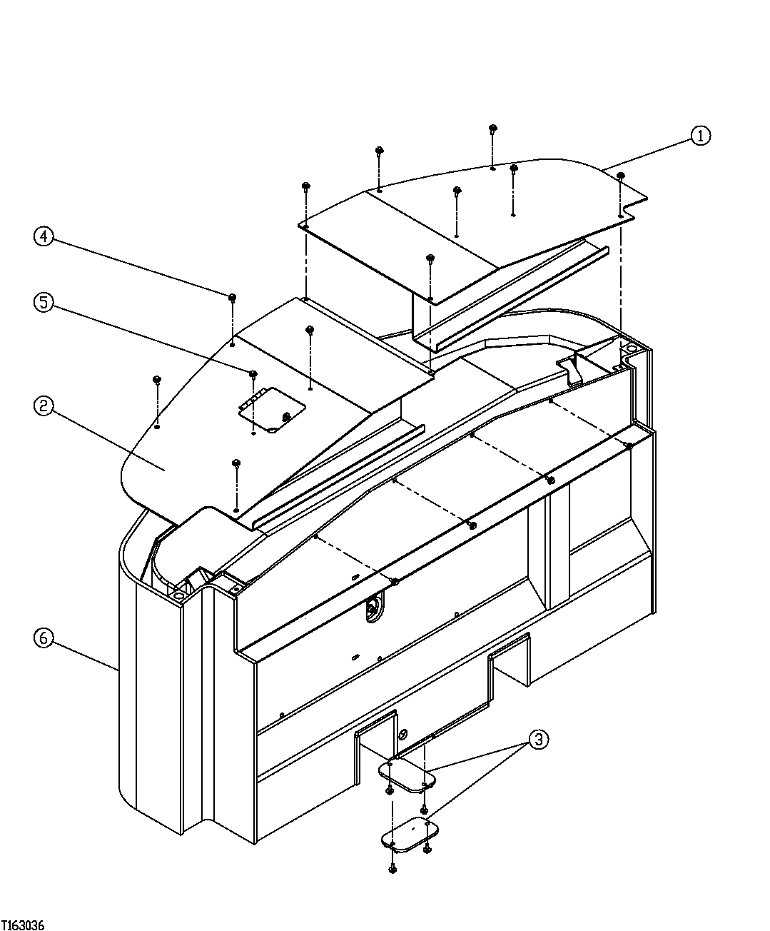
1

FFSB112572

Cover

1шт.

2

FFSB112573

Cover

1шт.

3

FFSB111387

Cover

2шт.

4

19M7550

Cap Screw

M10 X 35 (SUB FOR FFSB109179)

16шт.

12M7066

Lock Washer

10 mm (SUB FOR FFSB109179)

16шт.

24M7346

Washer

11 X 20 X 2 mm (SUB FOR FFSB109179)

16шт.

5

19M7402

Cap Screw

M10 X 25 (SUB FOR FFSB107461)

4шт.

12M7006

Lock Washer

6 mm (SUB FOR FFSB107461)

4шт.

6

Counterweight

(6190 KG) ( FFSB112602 NLA)

1шт.

Counterweight

(8470 KG) ( FFSB112603 NLA)

1шт.

FFSB112606

Counterweight

1шт.

Выбрано товаров: 11