Запчасти John Deere 35C RTS 307 - AIR CONDITIONER AND HEATER HOSES AND CLAMPS (7 INCH RISER) 1830 HEATING & AIR CONDITIONING

Схема запчастей John Deere 35C RTS - 307 - AIR CONDITIONER AND HEATER HOSES AND CLAMPS (7 INCH RISER) 1830 HEATING & AIR CONDITIONING
FIT
1:1
100%

Артикул

Название

Примечание

Количество

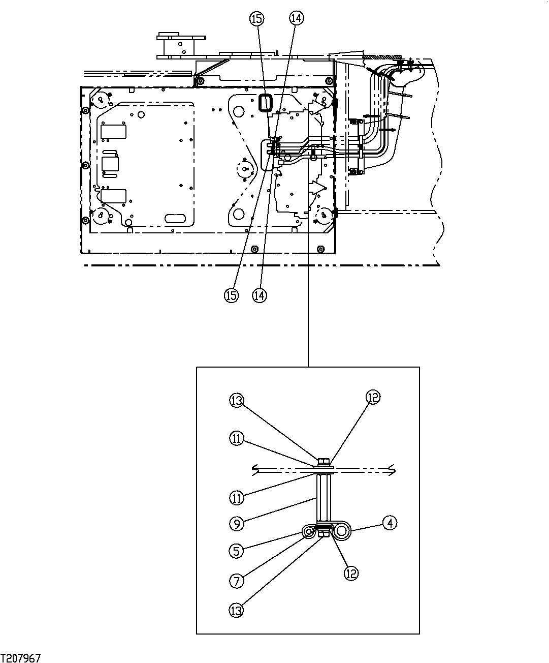
4

XCL-17

Hose Clamp

(SUB FOR FFSB105439)

1шт.

5

F053301

Holder

(SUB FOR FFSB102835)

1шт.

7

24M7096

Washer

10.500 X 18 X 1.600 mm (SUB FOR FFSB107709)

1шт.

9

FFSB107369

Nut

1шт.

11

24M7101

Washer

11 X 34 X 3 mm (SUB FOR FFSB111358)

2шт.

12

12M7066

Lock Washer

10 mm (SUB FOR FFSB107409)

2шт.

13

19M7576

Screw

M10 X 30 (SUB FOR FFSB109271 OR J781030)

2шт.

14

FFSB110329

Adapter Fitting

2шт.

15

FFSB102829

Clamp

2шт.

Выбрано товаров: 9