Качественные детали и логистика
Оригинальные и аналоговые запчасти с доставкой по России, Казахстану и Беларуси
©2022 PartSell ООО "Система" ИНН 2463123282 ОГРН 1212400004838
Центральный офис: г. Красноярск, Академика Киренского, д.87, пом.4
Телефон: 8 (800) 777-65-74 Email: zakaz@partsell.ru
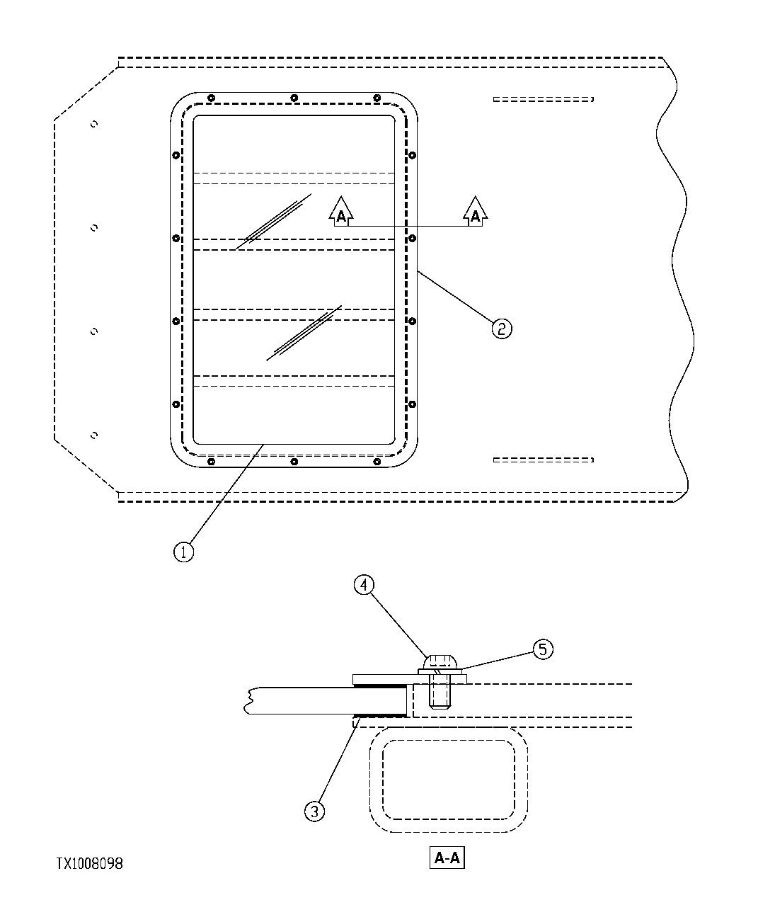
328 - FORESTRY CAB ROOF WINDOW AND WINDOW RETAINER
№
Артикул
Название
Примечание
Количество
1
FFSB107875
Windowpane
1шт.
2
FFSB107727
Retainer
3
FFSB103444
Seal
(SUB FOR FFSB107988)(CTL) 2700MM
2шт.
4
21M7442
Screw
M10 X 20 ( FFSB108054 NLA)
14шт.
5
12M7066
Lock Washer
10 mm (SUB FOR FFSB108055)
Выбрано товаров: 0