Качественные детали и логистика
Оригинальные и аналоговые запчасти с доставкой по России, Казахстану и Беларуси
©2022 PartSell ООО "Система" ИНН 2463123282 ОГРН 1212400004838
Центральный офис: г. Красноярск, Академика Киренского, д.87, пом.4
Телефон: 8 (800) 777-65-74 Email: zakaz@partsell.ru
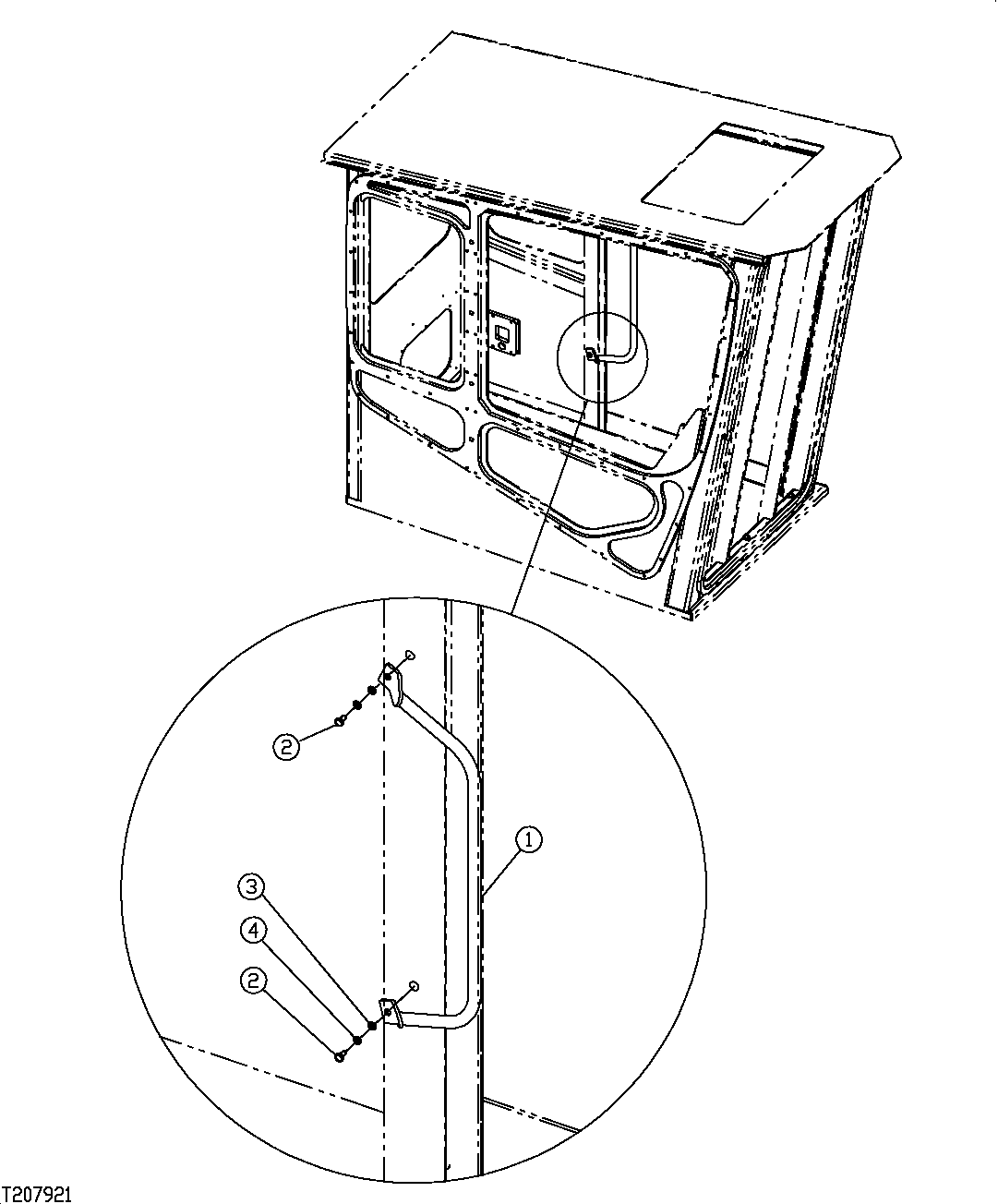
352 - Side Entry Cab Grab Handle (350027 - )
№
Артикул
Название
Примечание
Количество
1
4602595
Handrail
SUB FOR 4369625, AT214127, AND FFSB106881
1шт.
2
19M7662
Cap Screw
M10 X 30 SUB FOR FFSB109187
2шт.
3
24M7028
Washer
10.500 X 20 X 2 mm SUB FOR FFSB107142
4
12M7066
Lock Washer
10 mm SUB FOR FFSB107409
Выбрано товаров: 4