Запчасти John Deere 35C RTS 399 - REAR ENTRY CAB HEATER AND AIR CONDITIONER UNIT MOUNTING 1830C REAR ENTRY CAB HEATING AND AIR CONDITIONING

Схема запчастей John Deere 35C RTS - 399 - REAR ENTRY CAB HEATER AND AIR CONDITIONER UNIT MOUNTING 1830C REAR ENTRY CAB HEATING AND AIR CONDITIONING
FIT
1:1
100%

Артикул

Название

Примечание

Количество

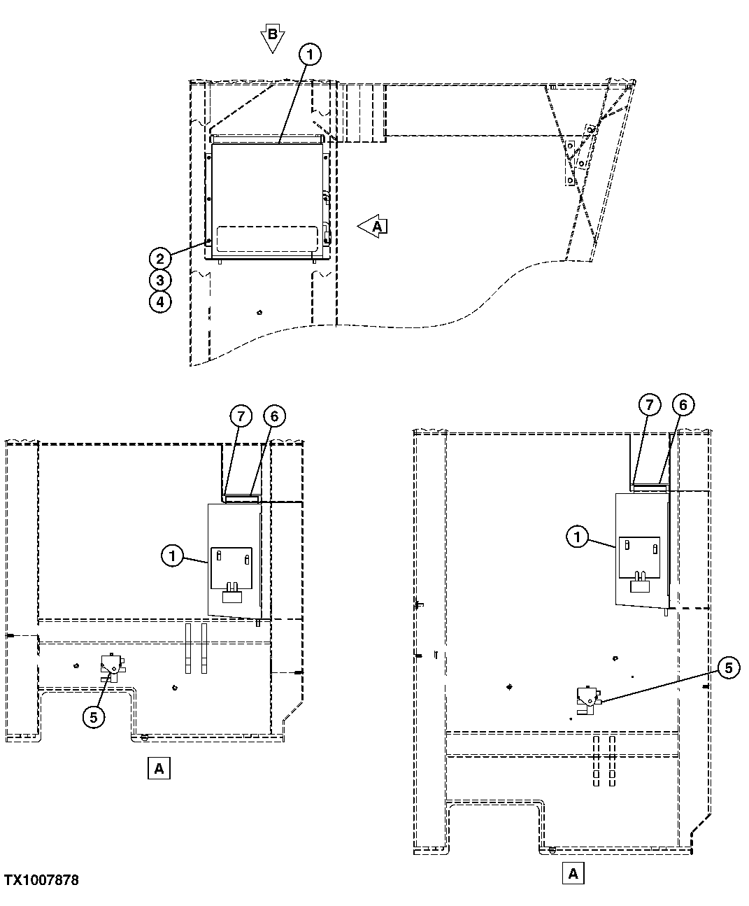
1

FFSB109074

Evaporator

(A)

1шт.

2

19M7286

Cap Screw

(A) M6 X 25 (SUB FOR FFSB108287 AND J900625)

6шт.

3

24M7054

Washer

(A) 6.400 X 12 X 1.600 mm (S UB FOR FFSB107438 AND J250006)

6шт.

4

12M7006

Lock Washer

(A) 6 mm (SUB FOR FFSB107439 AND J252106)

6шт.

5

FFSB113454

Thermostatic Control Valve

(A)

1шт.

6

FFSB102834

Weatherstrip

(A) (CUT TO 435MM LENGTH), (S UB FOR FFSB112156, FFSB112178)

2шт.

7

TY22328

Bulk Hose

(A) (CUT TO 1770MM LENG TH) (SUB FOR FFSB112157)

2шт.

Выбрано товаров: 0