Качественные детали и логистика
Оригинальные и аналоговые запчасти с доставкой по России, Казахстану и Беларуси
©2022 PartSell ООО "Система" ИНН 2463123282 ОГРН 1212400004838
Центральный офис: г. Красноярск, Академика Киренского, д.87, пом.4
Телефон: 8 (800) 777-65-74 Email: zakaz@partsell.ru
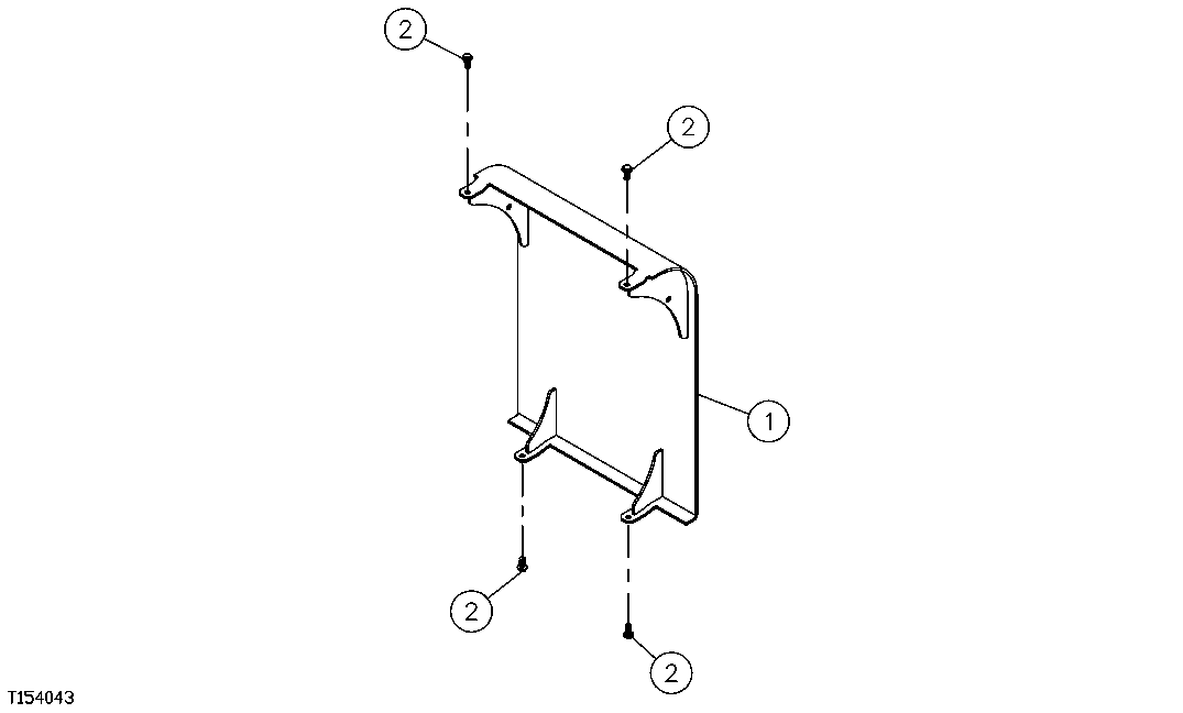
423 - HYDRAULIC RESERVOIR GUARD PANEL
№
Артикул
Название
Примечание
Количество
1
FFSB112758
Door
1шт.
2
19M7662
Cap Screw
M10 X 30 (SUB FOR FFSB109176)
4шт.
12M7067
Lock Washer
12 mm
24M7346
Washer
11 X 20 X 2 mm
Выбрано товаров: 4