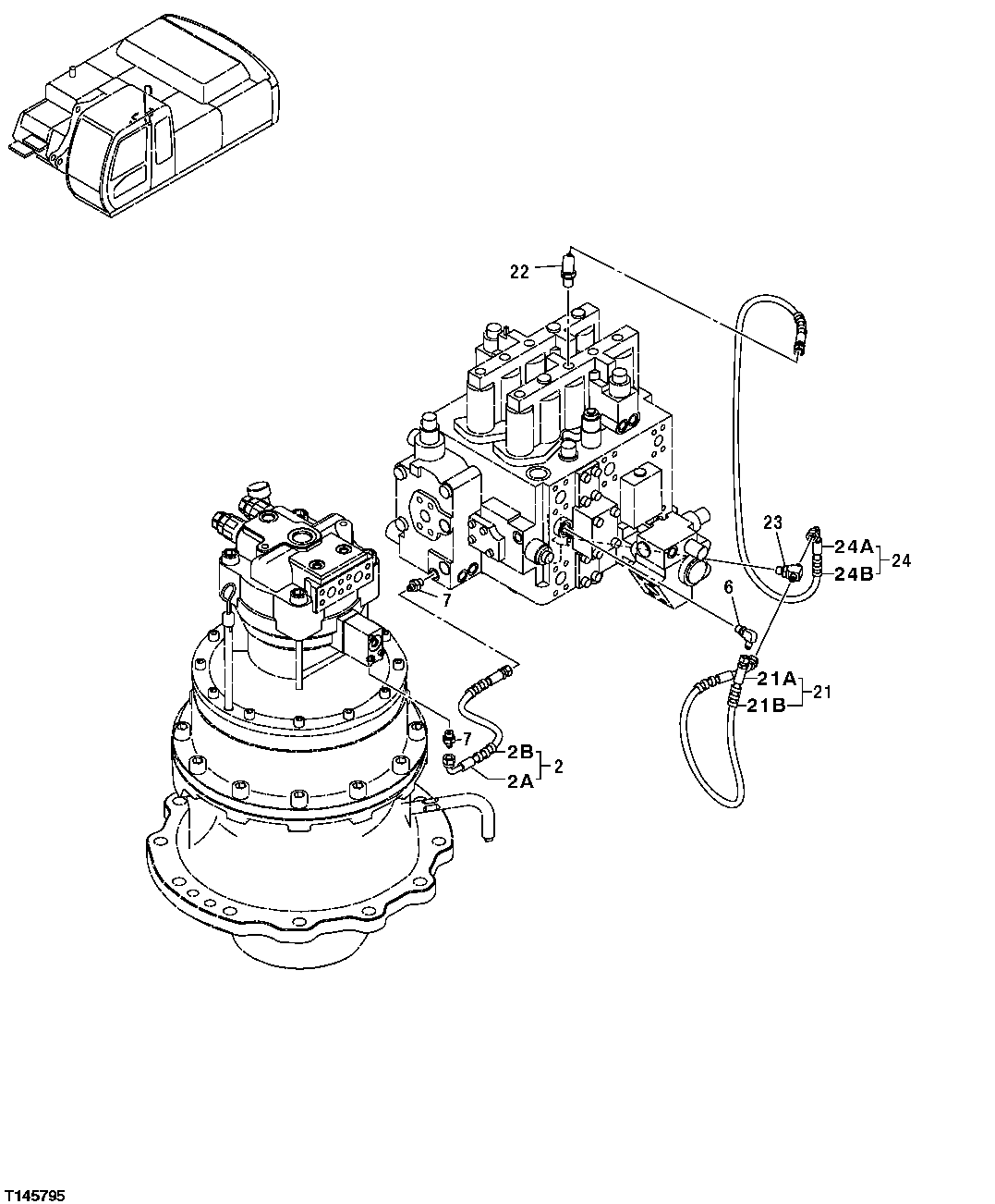
Запчасти John Deere 35C RTS 506 - PILOT HOSES (FROM CONTROL VALVE TO SWING MOTOR) 3360 HYDRAULIC SYSTEM

Схема запчастей John Deere 35C RTS - 506 - PILOT HOSES (FROM CONTROL VALVE TO SWING MOTOR) 3360 HYDRAULIC SYSTEM
FIT
1:1
100%

Артикул

Название

Примечание

Количество

2

Hydraulic Hose

9190854 NLA

1шт.

2A

4618606

Hose

SUB FOR 4453172 OR 4465683

1шт.

2B

4327315

Hose Guard

4327293 NLA

1шт.

6

4154670

Elbow Fitting

SUB FOR A852322, P67984 OR THA852322

1шт.

6A

M800650

Packing

Not Illustrated

1шт.

7

A852122

Adapter Fitting

2шт.

7A

M800650

Packing

Not Illustrated

1шт.

21

Hydraulic Hose

9190861 NLA

1шт.

21A

4437902

Hydraulic Hose

(CTL) 1030.22MM (40.56")

1шт.

21B

4327315

Hose Guard

4327293 NLA

2шт.

22

4351281

Fitting

1шт.

22A

CH11570

O-Ring

Not Illustrated

1шт.

23

A852522

Tee Fitting

1шт.

23A

M800650

Packing

Not Illustrated

1шт.

24

Hydraulic Hose

9190865 NLA

1шт.

24A

4437734

Hydraulic Hose

1шт.

24B

4327315

Hose Guard

4327293 NLA

1шт.

Выбрано товаров: 17