Запчасти John Deere 35C RTS 512 - PILOT HOSES (CONTROL VALVE TO FLOW REGULATOR AND RESERVOIR) 3360 HYDRAULIC SYSTEM

Схема запчастей John Deere 35C RTS - 512 - PILOT HOSES (CONTROL VALVE TO FLOW REGULATOR AND RESERVOIR) 3360 HYDRAULIC SYSTEM
FIT
1:1
100%

Артикул

Название

Примечание

Количество

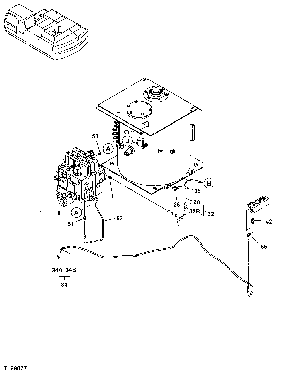
1

A852122

Adapter Fitting

2шт.

M800650

Packing

1шт.

32

Hydraulic Hose - Fabricate

9243848 NLA

1шт.

32A

4437795

Hydraulic Hose

11.1252" X 1350 mm (53-1/4") X 11.1252"

1шт.

32B

4327315

Hose Guard

4327293 NLA

1шт.

34

Hydraulic Hose

9200078 NLA

1шт.

34A

4452736

Hydraulic Hose

1шт.

34B

4327315

Hose Guard

4327293 NLA

1шт.

35

M45242

Clip

SUB FOR 4190292

1шт.

36

19M7938

Cap Screw

M10 X 20

1шт.

12M7066

Lock Washer

10 mm

1шт.

42

4436535

Sensor

1шт.

50

4255304

Fitting

1шт.

M800650

Packing

1шт.

51

4255305

Fitting

1шт.

CH11570

O-Ring

1шт.

52

3079449

Oil Line

1шт.

66

4154670

Elbow Fitting

SUB FOR A852322, P67984 OR THA852322

1шт.

M800650

Packing

1шт.

Выбрано товаров: 19