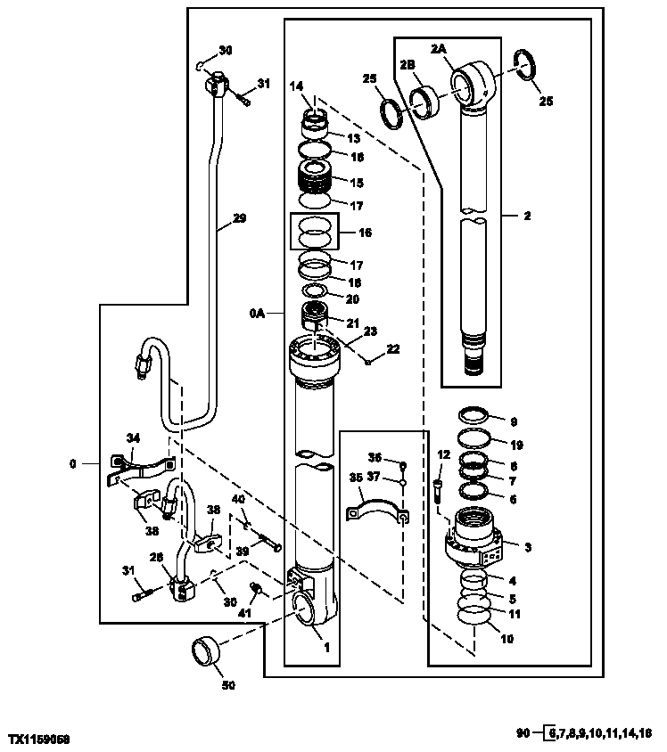
Запчасти John Deere 35C RTS 523 - Log Loader Left Boom Cylinder (350074 - ) 3360 HYDRAULIC SYSTEM

Схема запчастей John Deere 35C RTS - 523 - Log Loader Left Boom Cylinder (350074 - ) 3360 HYDRAULIC SYSTEM
FIT
1:1
100%

Артикул

Название

Примечание

Количество

0

4641549

Hydraulic Cylinder

SUB FOR FFSB114758

1шт.

0A

Hydraulic Cylinder

4656440 NLA

1шт.

1

1163501

Tube

1шт.

2

1163506

Hydraulic Cylinder Rod

1шт.

2A

Hydraulic Cylinder Rod

1163502 NLA

1шт.

2B

0420104

Bushing

1шт.

3

0420105

Cylinder Head

1шт.

4

0352704

Bushing

1шт.

5

0133103

Snap Ring

1шт.

6

0972103

Ring

1шт.

7

0972104

Packing

1шт.

8

AT132286

Back-Up Ring

SUB FOR 0352707

1шт.

9

0972105

Ring

1шт.

10

A811160

O-Ring

1шт.

11

AT264252

Back-Up Ring

SUB FOR 4170546

1шт.

12

0191412

Bolt

8шт.

13

0420106

Bearing

1шт.

14

0420113

Seal

1шт.

15

FXB00012870

Piston

SUB FOR 0420108

1шт.

16

AT264253

Ring

SUB FOR 4170547

1шт.

17

AT264289

Ring

SUB FOR 0420109

2шт.

18

AT264248

Ring

SUB FOR 0259307

2шт.

19

AT204911

Ring

SUB FOR 0460004

1шт.

20

0352714

Shim

1шт.

21

0352713

Nut

1шт.

22

H228111

Set Screw

M14 X 14 SUB FOR 0352715

1шт.

23

R26552

Ball

7.938 mm (5/16") SUB FOR 0104404

1шт.

25

0420111

Ring

SUB FOR 4S00853

2шт.

28

1163601

Oil Line

1шт.

29

1163602

Oil Line

1шт.

30

AT264348

O-Ring

SUB FOR 984614

2шт.

31

19M8448

Screw

M12 X 35 SUB FOR M341236

8шт.

34

1163505

Clamp

1шт.

35

0352721

Band

1шт.

36

19M7550

Cap Screw

M10 X 35 SUB FOR J901035

2шт.

37

12M7066

Lock Washer

10 mm SUB FOR A590910

2шт.

38

0236915

Half Clamp

2шт.

39

19M7291

Cap Screw

M14 X 90 SUB FOR 0236916

1шт.

40

12H317

Lock Washer

9/16" SUB FOR A590914

1шт.

41

TH100074

Lubrication Fitting

SUB FOR J75481

1шт.

50

FFSB102183

Bushing

1шт.

75

TH103200

Seal

2шт.

90

4686432

Seal Kit

1шт.

Выбрано товаров: 43