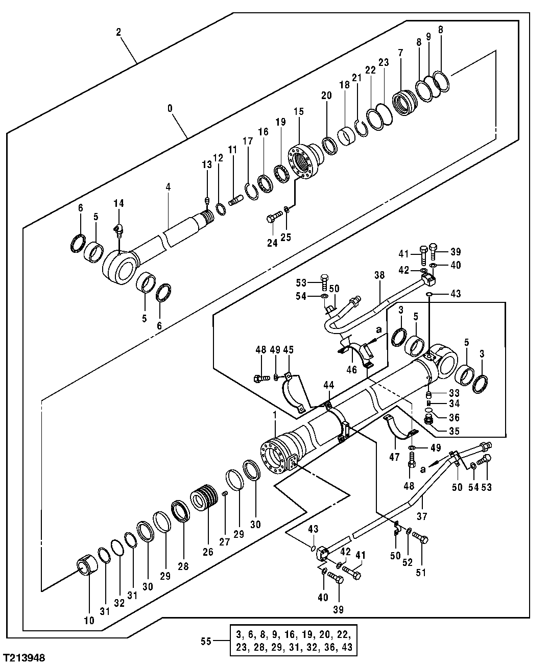
Запчасти John Deere 35C RTS 534 - EXCAVATOR ARM CYLINDER (SN XXXXXX- ) 3360 HYDRAULIC SYSTEM

Схема запчастей John Deere 35C RTS - 534 - EXCAVATOR ARM CYLINDER (SN XXXXXX- ) 3360 HYDRAULIC SYSTEM
FIT
1:1
100%

Артикул

Название

Примечание

Количество

0

0961401JEX

Hydraulic Cylinder Reman

No Serial Number Available Later Units Have 12 Cylinder Rod Guide Bolts (REMAN) (SUB FOR 0961401J)

1шт.

1

Hydraulic Cylinder Barrel

( 0961402 NLA)

1шт.

2

Hydraulic Cylinder

( 9251370J NLA)

1шт.

3

4085479

Seal

2шт.

4

0961403

Hydraulic Cylinder Rod

1шт.

5

4381859

Bushing

4шт.

6

4085479

Seal

2шт.

7

0961404

Locking Collar

1шт.

8

0961405

Back-Up Ring

2шт.

9

0961406

O-Ring

1шт.

10

0961407

Bearing

1шт.

11

0961408

Plunger

1шт.

12

0961409

Retainer

12шт.

13

0961410

Hydraulic Cylinder Cap

1шт.

14

0961411

Lubrication Fitting

1шт.

15

0961412

Hydr. Cylinder Rod Guide

1шт.

16

0961413

Seal

1шт.

17

0961414

Snap Ring

1шт.

18

0961415

Bushing

1шт.

19

0961416

Packing

1шт.

20

0961417

Ring

1шт.

21

0961210

Snap Ring

1шт.

22

0961405

Back-Up Ring

1шт.

23

0961406

O-Ring

1шт.

24

0961418

Bolt

12шт.

25

0961419

Washer

12шт.

26

0961420

Piston

1шт.

27

0961421

Screw

1шт.

28

0961422

Piston Ring

1шт.

29

0961423

Wear Ring

2шт.

30

0961424

Ring

2шт.

31

0961425

Ring

2шт.

32

0961426

O-Ring

1шт.

33

0961427

Valve

1шт.

34

0961428

Spring

1шт.

35

0961429

Plug

1шт.

36

0961430

O-Ring

1шт.

37

0961431

Oil Line

1шт.

38

0961432

Oil Line

1шт.

39

0961226

Bolt

4шт.

40

0961227

Washer

4шт.

41

0961228

Bolt

4шт.

42

0961227

Washer

4шт.

43

0961229

O-Ring

2шт.

44

0961433

Bracket

1шт.

45

0961434

Bracket

1шт.

46

0961435

Bracket

1шт.

47

0961436

Bracket

1шт.

48

0961437

Bolt

6шт.

49

0961227

Washer

6шт.

50

0961438

Clamp

3шт.

51

0961439

Bolt

2шт.

52

0961236

Washer

2шт.

53

0961440

Bolt

4шт.

54

0961236

Washer

4шт.

55

4640118

Seal Kit

1шт.

Выбрано товаров: 56