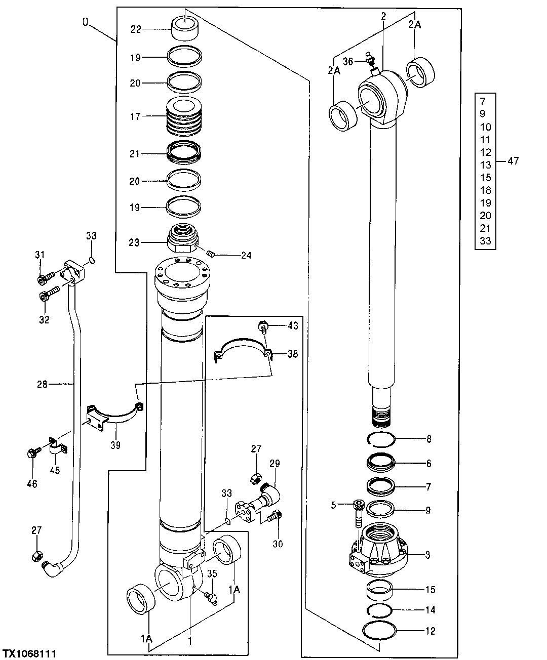
Запчасти John Deere 35C RTS 535 - EXCAVATOR BUCKET CYLINDER (SN -XXXXXX) 3360 HYDRAULIC SYSTEM

Схема запчастей John Deere 35C RTS - 535 - EXCAVATOR BUCKET CYLINDER (SN -XXXXXX) 3360 HYDRAULIC SYSTEM
FIT
1:1
100%

Артикул

Название

Примечание

Количество

0

Hydraulic Cylinder

REMAN SUB 0961501, 9206361 NLA

1шт.

1

4646011

Hydraulic Cylinder Barrel

SUB FOR 9206364, ALSO O RDER 3088557 AND 8079157

1шт.

3088557

Clamp

1шт.

8079157

Clamp

1шт.

1A

4358100

Bushing

2шт.

2

7037769

Rod

1шт.

2A

4381857

Bushing

2шт.

3

1022645

Hydraulic Cylinder Cap

1шт.

5

19M8630

Screw

M24 X 80

8шт.

6

AT264294

Seal

SUB FOR 4348201

1шт.

7

AT264408

Seal

SUB FOR TH111216

1шт.

8

4369508

Ring

1шт.

9

AT264409

Ring

1шт.

10

4389326

Ring

(SUB FOR AT264409)(NOT ILL USTRATED) SUB FOR AT264409

1шт.

11

AT264406

O-Ring

Not Illustrated

1шт.

12

AT264274

O-Ring

SUB FOR 4267138

1шт.

13

AT264407

Seal

(NOT ILLUSTRATED)

1шт.

14

4264982

Snap Ring

1шт.

15

AT264239

Bushing

SUB FOR AT131420

1шт.

17

3080835

Piston

1шт.

18

AT280433

Back-Up Ring

1шт.

19

AT264400

Ring

SUB FOR TH110062

2шт.

20

AT264401

Wear Ring

SUB FOR TH110063

2шт.

21

AT264402

Ring

SUB FOR TH110065

1шт.

22

4194625

Ring

1шт.

23

3039348

Nut

1шт.

24

4201806

Set Screw

1шт.

27

4260204

Nut

2шт.

28

8036941

Oil Line

1шт.

29

8036940

Oil Line

1шт.

30

19M8448

Screw

M12 X 35

4шт.

31

19M8341

Screw

M12 X 45

2шт.

32

19M8444

Screw

M12 X 60

2шт.

33

AT264324

O-Ring

SUB FOR TH100044

2шт.

35

T116334

Lubrication Fitting

1шт.

36

TH100074

Lubrication Fitting

1шт.

38

TH111883

Clamp

2шт.

39

TH111988

Clamp

2шт.

43

19M7550

Cap Screw

M10 X 35

4шт.

12M7066

Lock Washer

10 mm

4шт.

45

4174241

Clamp

2шт.

46

19M7402

Cap Screw

M10 X 25

4шт.

12M7066

Lock Washer

10 mm

4шт.

47

AT264430

Seal Kit

1шт.

Выбрано товаров: 44