Запчасти John Deere 35C RTS 538 - Excavator Left Boom Cylinder (350058 - ) 3360 HYDRAULIC SYSTEM

Схема запчастей John Deere 35C RTS - 538 - Excavator Left Boom Cylinder (350058 - ) 3360 HYDRAULIC SYSTEM
FIT
1:1
100%

Артикул

Название

Примечание

Количество

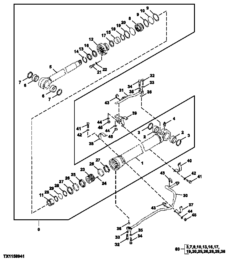
0

9292424

Hydraulic Cylinder

SUB FOR 0961201JEX, FFSB114666, 92 32711 OR 0961201 Reman Must Replace Right and Left Cylinders As A Pair

1шт.

1

Tube

0961202 NLA

1шт.

2

4381855

Bushing

2шт.

3

TH103200

Seal

SUB FOR 4085479

2шт.

4

0920505

Lubrication Fitting

1шт.

5

0961203

Rod

1шт.

6

4381855

Bushing

2шт.

7

TH103200

Seal

SUB FOR 4085479

2шт.

8

0961204

Locking Collar

1шт.

9

0961205

Back-Up Ring

2шт.

10

0961206

O-Ring

1шт.

11

0961207

Plunger

1шт.

12

0961208

Cylinder Head

1шт.

13

0961209

Seal

1шт.

14

0961210

Snap Ring

1шт.

15

0961211

Bushing

1шт.

16

0961212

Packing

1шт.

17

0961213

Ring

1шт.

18

0961214

Snap Ring

1шт.

19

0961205

Back-Up Ring

1шт.

20

0961206

O-Ring

1шт.

21

0961215

Bolt

12шт.

22

0961216

Washer

12шт.

23

0961217

Piston

1шт.

24

0961218

Screw

1шт.

25

0961219

Piston Ring

1шт.

26

0961220

Wear Ring

2шт.

27

0961221

O-Ring

2шт.

28

0961222

Back-Up Ring

2шт.

29

0961223

O-Ring

1шт.

30

0961301

Line

1шт.

31

0961302

Line

1шт.

32

0961226

Bolt

4шт.

33

0961227

Washer

4шт.

34

0961228

Bolt

4шт.

35

0961227

Washer

4шт.

36

0961229

O-Ring

2шт.

37

0961230

Bracket

1шт.

38

0961231

Band

1шт.

39

0961303

Bracket

1шт.

40

0961233

Band

1шт.

41

0961234

Bolt

6шт.

42

0961227

Washer

6шт.

43

0961235

Clip

3шт.

44

0961236

Washer

6шт.

45

0961237

Nut

6шт.

80

4640107

Seal Kit

1шт.

Выбрано товаров: 47