Запчасти John Deere 5 6 - HYDRAULIC OIL RESERVOIR 2160 - MAIN HYDRAULIC SYSTEM

Схема запчастей John Deere 5 - 6 - HYDRAULIC OIL RESERVOIR 2160 - MAIN HYDRAULIC SYSTEM
FIT
1:1
100%

Артикул

Название

Примечание

Количество

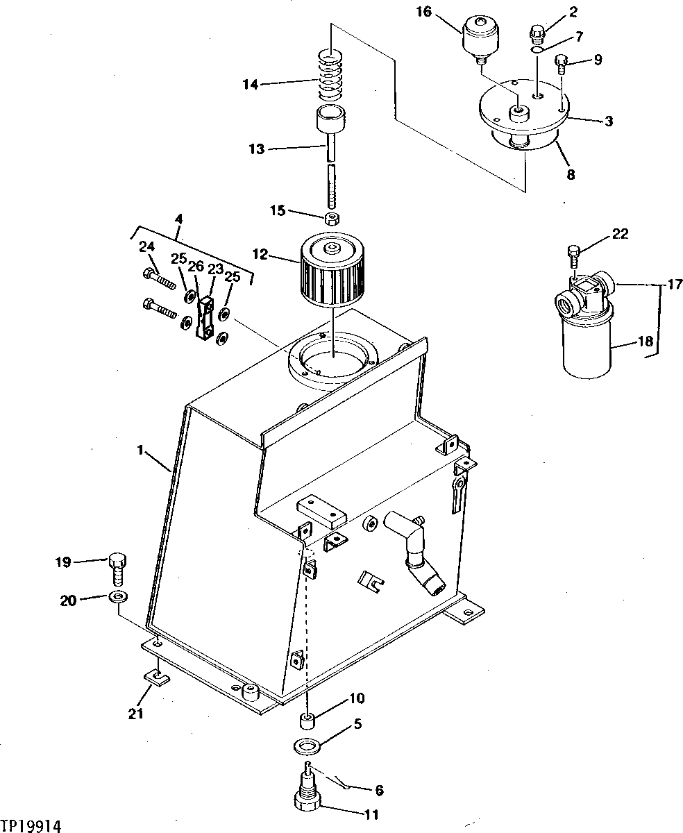
1

AT110562

HYDRAULIC RESERVOIR

1шт.

2

T110003

PLUG

1шт.

3

T114062

COVER

(SUB FOR T110350)

1шт.

4

AT212090

GAUGE

(SUB FOR T110920 OR T211828)

1шт.

5

T110409

WASHER

1шт.

6

11M7058

COTTER PIN

2 X 25 MM, (SUB FOR 11M7009)

1шт.

7

CH14583

PACKING

1шт.

8

A810105

O-RING

(SUB FOR CH13521) (SUB FOR U46158)

1шт.

9

12M7056

LOCK WASHER

8 MM, (SUB FOR 12M7065)

3шт.

19M7881

SCREW

M8 X 20

3шт.

10

T110629

MAGNET

1шт.

11

T110631

DRAIN PLUG

1шт.

12

T110346

FILTER

1шт.

13

AT110196

ROD

1шт.

14

T110032

SPRING

1шт.

15

14M7274

NUT

M10

1шт.

16

T110919

BREATHER

1шт.

17

AT110239

FILTER

1шт.

18

T110603

FILTER ELEMENT

1шт.

19

12M7058

LOCK WASHER

12 MM, (SUB FOR 12M7067)

3шт.

19M8011

CAP SCREW

M12 X 30

3шт.

20

T110588

WASHER

3шт.

21

T110080

SPACER

1шт.

22

12M7066

LOCK WASHER

10 MM

2шт.

19M7166

CAP SCREW

M10 X 20

2шт.

23

GAUGE

1шт.

24

BOLT

( T114045 NO LONGER AVAILABLE)

2шт.

25

T114046

GASKET

4шт.

26

TUBE

1шт.

Выбрано товаров: 0