Запчасти John Deere 5 4 - ENGINE CRANKSHAFT 401 - ENGINE 4

Схема запчастей John Deere 5 - 4 - ENGINE CRANKSHAFT 401 - ENGINE 4
FIT
1:1
100%

Артикул

Название

Примечание

Количество

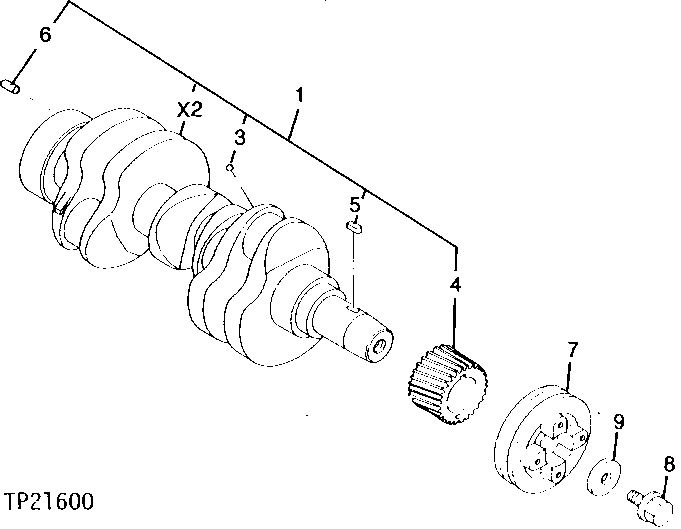
1

AM101394

CRANKSHAFT

1шт.

2

CRANKSHAFT

(SUB AM101394)

1шт.

3

400R

BALL

3шт.

4

M89137

GEAR

1шт.

5

M87812

SHAFT KEY

1шт.

6

M802255

PIN

(SUB FOR CH10534)

1шт.

7

AT110783

PULLEY

1шт.

8

M800075

SCREW

1шт.

9

M800308

WASHER

1шт.

Выбрано товаров: 0