Запчасти John Deere 5 6 - ENGINE OIL PAN 407 - ENGINE 4

Схема запчастей John Deere 5 - 6 - ENGINE OIL PAN 407 - ENGINE 4
FIT
1:1
100%

Артикул

Название

Примечание

Количество

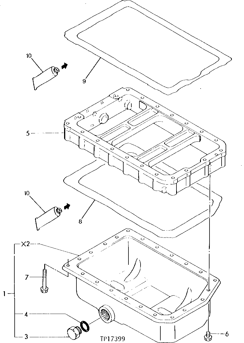
1

AT110844

OIL PAN

1шт.

2

RESERVOIR

(SUB AT110844)

1шт.

3

M800994

DRAIN PLUG

1шт.

4

CH14582

PACKING

1шт.

5

T111537

OIL PAN

1шт.

6

19M7774

SCREW

M6 X 12

3шт.

7

M87878

BOLT

20шт.

8

GASKET

(MAKE FROM M64850)

1шт.

9

GASKET

(MAKE FROM M64850)

1шт.

10

M64850

SEALANT

ARшт.

Выбрано товаров: 10