Качественные детали и логистика
Оригинальные и аналоговые запчасти с доставкой по России, Казахстану и Беларуси
©2022 PartSell ООО "Система" ИНН 2463123282 ОГРН 1212400004838
Центральный офис: г. Красноярск, Академика Киренского, д.87, пом.4
Телефон: 8 (800) 777-65-74 Email: zakaz@partsell.ru
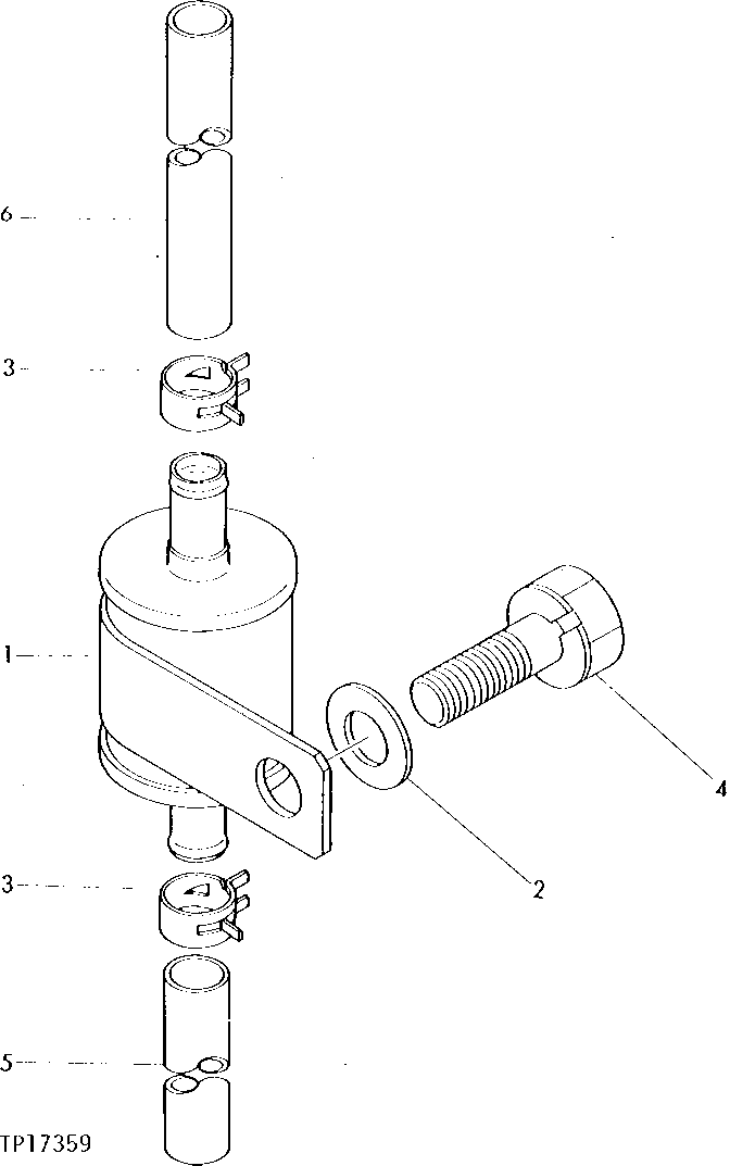
2 - ENGINE VENTILATOR TUBE FILTER
№
Артикул
Название
Примечание
Количество
1
T111730
FILTER
1шт.
2
24M7028
WASHER
10.500 X 20 X 2 MM
3
T111312
HOSE CLAMP
2шт.
4
12M7066
LOCK WASHER
10 MM
19M8324
CAP SCREW
M10 X 16, (SUB FOR 19M7557, THIS APPLICATION)
5
T114128
LINE
(SUB FOR T111879)
6
T114129
(SUB FOR T111880)
Выбрано товаров: 7