Запчасти John Deere 60C LC 58 - FUEL TANK 0560 EXTERNAL FUEL SUPPLY SYSTEMS

Схема запчастей John Deere 60C LC - 58 - FUEL TANK 0560 EXTERNAL FUEL SUPPLY SYSTEMS
FIT
1:1
100%

Артикул

Название

Примечание

Количество

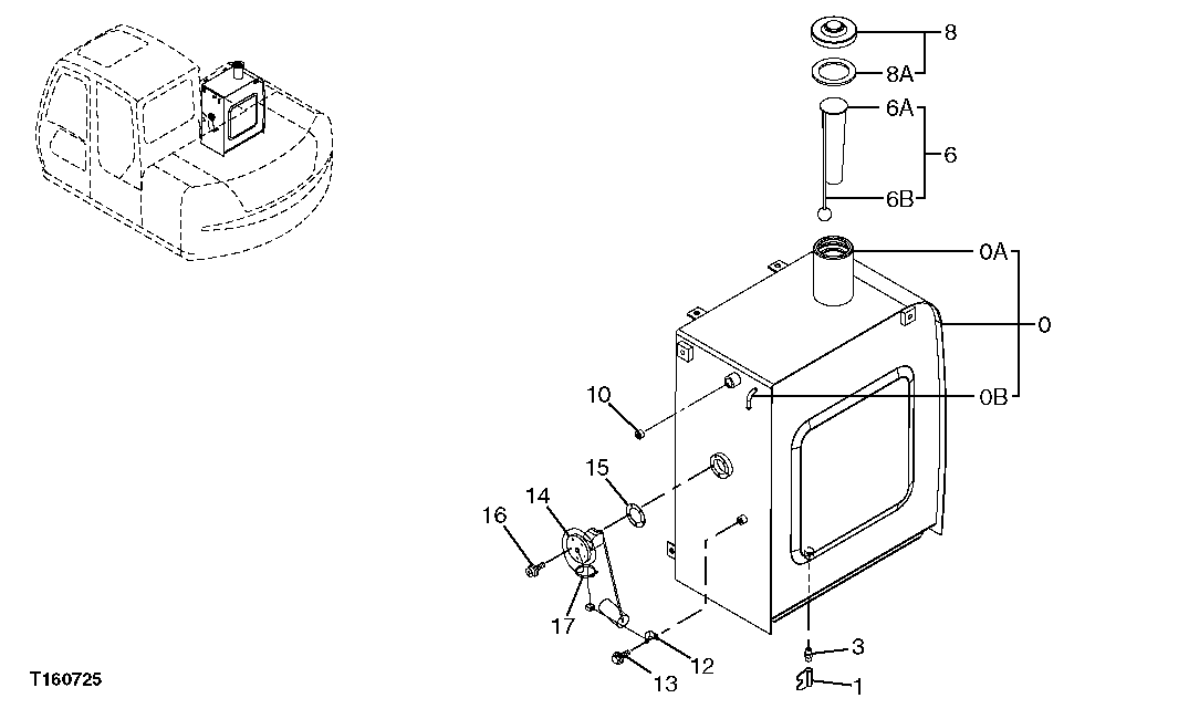
0

9197525

Fuel Tank

( 6019668 NLA)

1шт.

0A

FYA00027433

Tube

SUB FOR 4121497

1шт.

0B

4460751

Line

2шт.

1

4374265

Drain Valve

1шт.

3

T116057

Fitting

1шт.

6

4353560

Strainer

1шт.

6A

4353560

Strainer

SUB FOR 4372619

1шт.

6B

4372620

Float

1шт.

8

4361638

Cap

(SUB FOR 4361638)(KEY LOCKA BLE) (ORDER KEY SEPARATELY)

1шт.

4361638

Cap

(SUB FOR 4361638)(CAN BE LOCKED WI TH PADLOCK) (PADLOCK NOT INCLUDED)

1шт.

AT194969

Key

1шт.

8A

4168820

Packing

USE WITH 4361638

1шт.

10

94-2013

Fitting Plug

1шт.

12

4257159

Bracket

1шт.

13

19M8324

Cap Screw

M10 X 16 SUB FOR J011016

1шт.

12M7067

Lock Washer

12 mm

1шт.

14

4660782

Float

SUB FOR 4257128

1шт.

15

T211051

Gasket

SUB FOR U42323

1шт.

16

21M7278

Screw

M5 X 10

5шт.

17

R44302

Tie Band

SUB FOR 4326365

1шт.

Выбрано товаров: 0