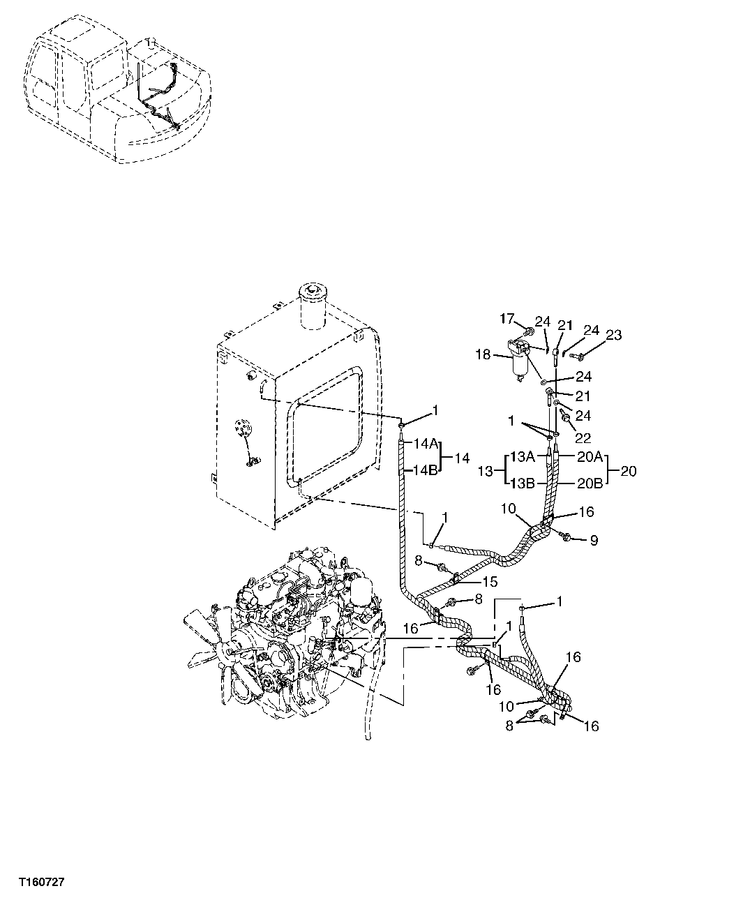
Запчасти John Deere 60C LC 60 - FUEL LINES AND HOSES 0563 FUEL LINES AND FITTINGS

Схема запчастей John Deere 60C LC - 60 - FUEL LINES AND HOSES 0563 FUEL LINES AND FITTINGS
FIT
1:1
100%

Артикул

Название

Примечание

Количество

1

4514700

Clip

6шт.

8

19M7938

Cap Screw

M10 X 20

5шт.

12M7066

Lock Washer

10 mm

5шт.

9

19M7402

Cap Screw

M10 X 25

1шт.

12M7066

Lock Washer

10 mm

1шт.

24M7096

Washer

10.500 X 18 X 1.600 mm

1шт.

10

H77698

Tie Band

2шт.

13

Hose

9191951 NLA

1шт.

13A

Hose

ORDER TY24398, CUT TO LENGTH

1шт.

13B

Y404061

Hose Guard

SUB FOR 4259842, 4282220, 4385002

1шт.

14

Hose

1шт.

14A

Bulk Hose

MAKE FROM TY22552 - CUT TO L ENGTH 2720MM SUB FOR 4376825

1шт.

14B

Y404061

Hose Guard

SUB FOR 4259842, 4282220, 4385002, 4188525, 4387763, 4417414, 4435921 , 4397947, 4210694, 4376826, 421753 5

1шт.

15

T24432

Clamp

1шт.

16

4190266

Clip

5шт.

17

19M7163

Cap Screw

M8 X 25

2шт.

Washer

12M7065 NLA

2шт.

24M7055

Washer

8.400 X 16 X 1.600 mm

2шт.

18

4452161

Separator

1шт.

20

Hose

9208781 NLA

1шт.

20A

Hose

ORDER TY24398, CUT TO LENGTH

1шт.

20B

4462473

Tube

1шт.

21

4452162

Line

2шт.

22

4452163

Bolt

1шт.

23

4452164

Bolt

1шт.

24

8982513450

Packing

SUB FOR 4452165

4шт.

Выбрано товаров: 26