Запчасти John Deere 60C LC 91 - CAB COMPONENTS (DOOR RELEASE CABLE) 1810 OPERATOR ENCLOSURE

Схема запчастей John Deere 60C LC - 91 - CAB COMPONENTS (DOOR RELEASE CABLE) 1810 OPERATOR ENCLOSURE
FIT
1:1
100%

Артикул

Название

Примечание

Количество

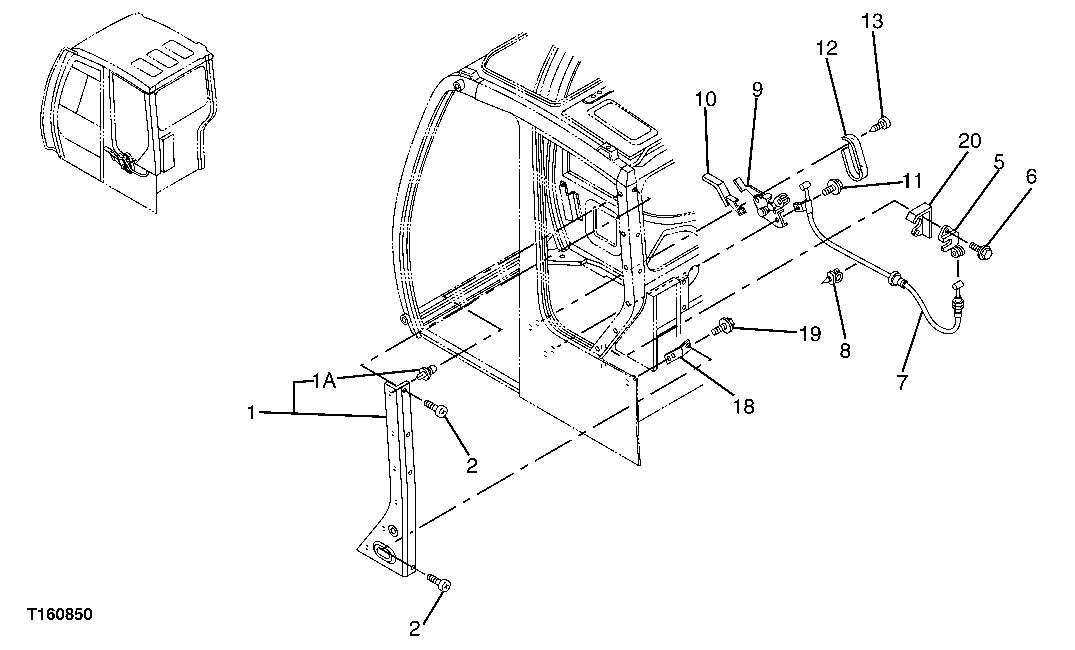
1

4461954

Cover

1шт.

1A

4464899

Clip

6шт.

2

4463914

Screw

4шт.

5

4463203

Catch

1шт.

6

4464320

Bolt

2шт.

7

4464329

Push Pull Cable

1шт.

8

4464330

Clip

1шт.

9

4464331

Lever

1шт.

10

4464332

Handle

1шт.

11

4463918

Bolt

2шт.

12

4464334

Cover

1шт.

13

4464335

Screw

2шт.

18

4464340

Bracket

1шт.

19

4703134

Bolt

(SUB FOR 4464230)

2шт.

20

Bracket

( 4464333 NA)

1шт.

Выбрано товаров: 15