Запчасти John Deere 60C LC 140 - TRAVEL MOTION ALARM 2004 WARNING DEVICES INCLUDING HORN & REVERSE ALARM

Схема запчастей John Deere 60C LC - 140 - TRAVEL MOTION ALARM 2004 WARNING DEVICES INCLUDING HORN & REVERSE ALARM
FIT
1:1
100%

Артикул

Название

Примечание

Количество

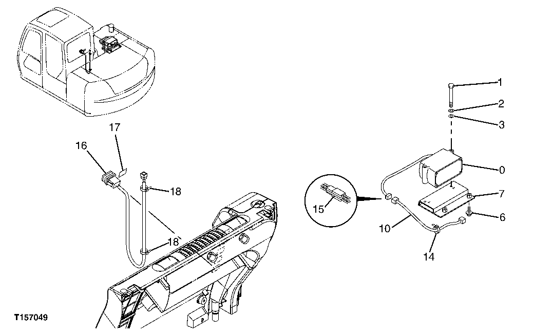
0

AT301074

Alarm System

SUB FOR 4283028

1шт.

1

19M8456

Cap Screw

M8 X 100

2шт.

2

Washer

12M7065 NLA

2шт.

3

24M7055

Washer

8.400 X 16 X 1.600 mm SUB FOR A590108

2шт.

6

19M7402

Cap Screw

M10 X 25

4шт.

12M7066

Lock Washer

10 mm

4шт.

24M7028

Washer

10.500 X 20 X 2 mm

4шт.

7

8087115

Bracket

1шт.

10

3092909

Wiring Harness

1шт.

14

H77698

Tie Band

1шт.

15

H77698

Tie Band

1шт.

16

4384758

Switch

1шт.

17

4450174

Label

SUB FOR 4460145

1шт.

18

H77698

Tie Band

2шт.

Выбрано товаров: 14