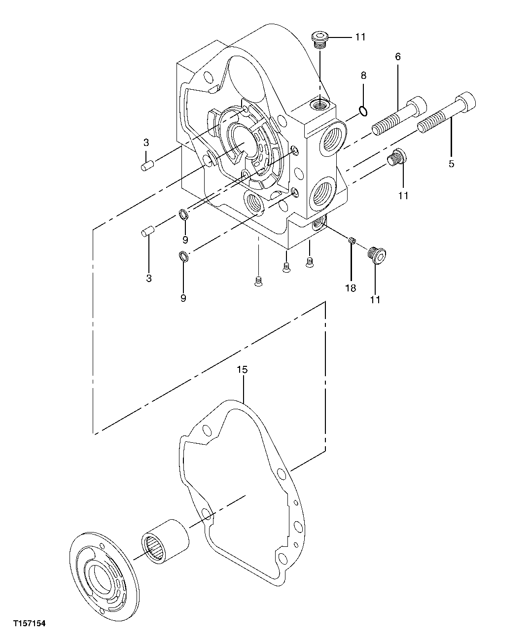
Запчасти John Deere 60C LC 181 - HYDRAULIC PUMP REAR COVER COMPONENTS (PUMPS 1 AND 2) 3361 HYDRAULIC PUMP

Схема запчастей John Deere 60C LC - 181 - HYDRAULIC PUMP REAR COVER COMPONENTS (PUMPS 1 AND 2) 3361 HYDRAULIC PUMP
FIT
1:1
100%

Артикул

Название

Примечание

Количество

3

Pin

2шт.

5

0825601

Bolt

1шт.

6

0640701

Screw

4шт.

8

CH17167

O-Ring

(SUB FOR 4506320)

1шт.

9

0661701

O-Ring

2шт.

11

0696003

Fitting Plug

3шт.

15

0825602

Gasket

1шт.

18

0311704

Orifice

1шт.

Выбрано товаров: 8