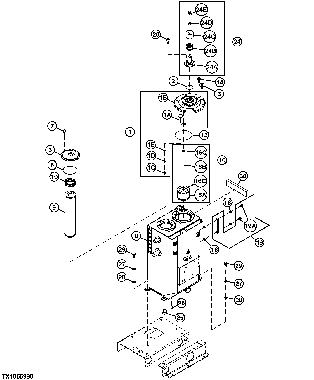
Запчасти John Deere 60C LC 242 - Hydraulic Oil Tank 3364 HYDRAULIC RESERVOIR

Схема запчастей John Deere 60C LC - 242 - Hydraulic Oil Tank 3364 HYDRAULIC RESERVOIR
FIT
1:1
100%

Артикул

Название

Примечание

Количество

0

6021155

Hydraulic Reservoir

1шт.

1

9184556

Cover

1шт.

1A

4408661

Bracket

1шт.

1B

9184556

Cover

1025093 NLA

1шт.

1C

4350623

Bolt

1шт.

1D

4225466

Washer

1шт.

1E

4225472

Washer

1шт.

2

A810060

Packing

1шт.

3

TH109514

Fitting Plug

1шт.

5

4443782

Cover

1шт.

6

997330

O-Ring

1шт.

7

19M7402

Cap Screw

M10 X 25

6шт.

12M7066

Lock Washer

10 mm

6шт.

24M7028

Washer

10.500 X 20 X 2 mm

6шт.

9

4443596

Filter Element

1шт.

4448602

Filter Element

OPTION, HIGH EFFECTIVEN ESS SUB FOR FYA00000097

1шт.

10

4444482

Spring

1шт.

13

TH100679

O-Ring

1шт.

14

19M7402

Cap Screw

M10 X 25

6шт.

12M7066

Lock Washer

10 mm

6шт.

24M7028

Washer

10.500 X 20 X 2 mm

6шт.

16

Filter

4449376 NLA, UNITS BUILT BEFORE MARCH 2005

1шт.

4687425

Strainer

UNITS BUILT MARCH 2005 AND AFTER 4642 196 NLA, ALSO ORDER 4454418 AND 14M7274

1шт.

16A

4687426

Strainer

UNITS BUILT BEFORE MAR CH 2005 SUB FOR 4396602

1шт.

4644664

Strainer

UNITS BUILT MARCH 2005 AND AFTER

1шт.

16B

4396619

Rod

UNITS BUILT BEFORE MARCH 2005

1шт.

4454418

Rod

UNITS BUILT MARCH 2005 A ND AFTER SUB FOR 4603515

1шт.

16C

14M7274

Nut

M10 UNITS BUILT BEFORE M ARCH 2005 SUB FOR J950010

3шт.

14M7274

Nut

M10 UNITS BUILT MARCH 2005 AND AFTER SUB FOR J950010

3шт.

18

449558

Washer

4шт.

19

8053499

Level Gauge

1шт.

19A

4100967

Bolt

2шт.

20

19M7768

Screw

M6 X 16

4шт.

24

4434017

Filter

1шт.

24A

4437833

Housing

1шт.

24B

4437838

Filter Element

1шт.

24C

4437837

Cover

1шт.

24D

4371825

Nut

1шт.

24E

4437836

Cap

1шт.

25

AT126200

Fitting

1шт.

TH101926

O-Ring

1шт.

26

A885002

Plug

1шт.

M800650

Packing

1шт.

27

12H294

Lock Washer

5/8"

4шт.

28

24M7338

Washer

17 X 30 X 3 mm

4шт.

29

19M7488

Cap Screw

M16 X 40

4шт.

30

4463598

Isolator

1шт.

Выбрано товаров: 47